旋流分离器结构

旋风分离器结构与原理
图片尺寸640x689
一种旋风分离器
图片尺寸1602x1986
旋风分离器的结构及工作原理是怎样的
图片尺寸1280x973
请问下旋风分离器分离后的净化气体为什么会向上流出?
图片尺寸720x960
cn211585731u_一种防堵塞旋流式汽水分离器
图片尺寸1296x1852
水力旋流器 旋流器 分离设备 脱水设备 厂家直销
图片尺寸679x712
先锋干燥系列讲座之十四什么是旋风分离器
图片尺寸500x865
旋风分离器
图片尺寸809x616
旋风式气液分离器又名气水分离器,汽水分离器,油水分离器
图片尺寸359x460
一种煤泥尾矿水力六产品脱泥排矸分级分选旋流器组
图片尺寸988x1000
一种大处理量第三级旋风分离器
图片尺寸1619x2275
旋流式汽水分离器
图片尺寸1534x958
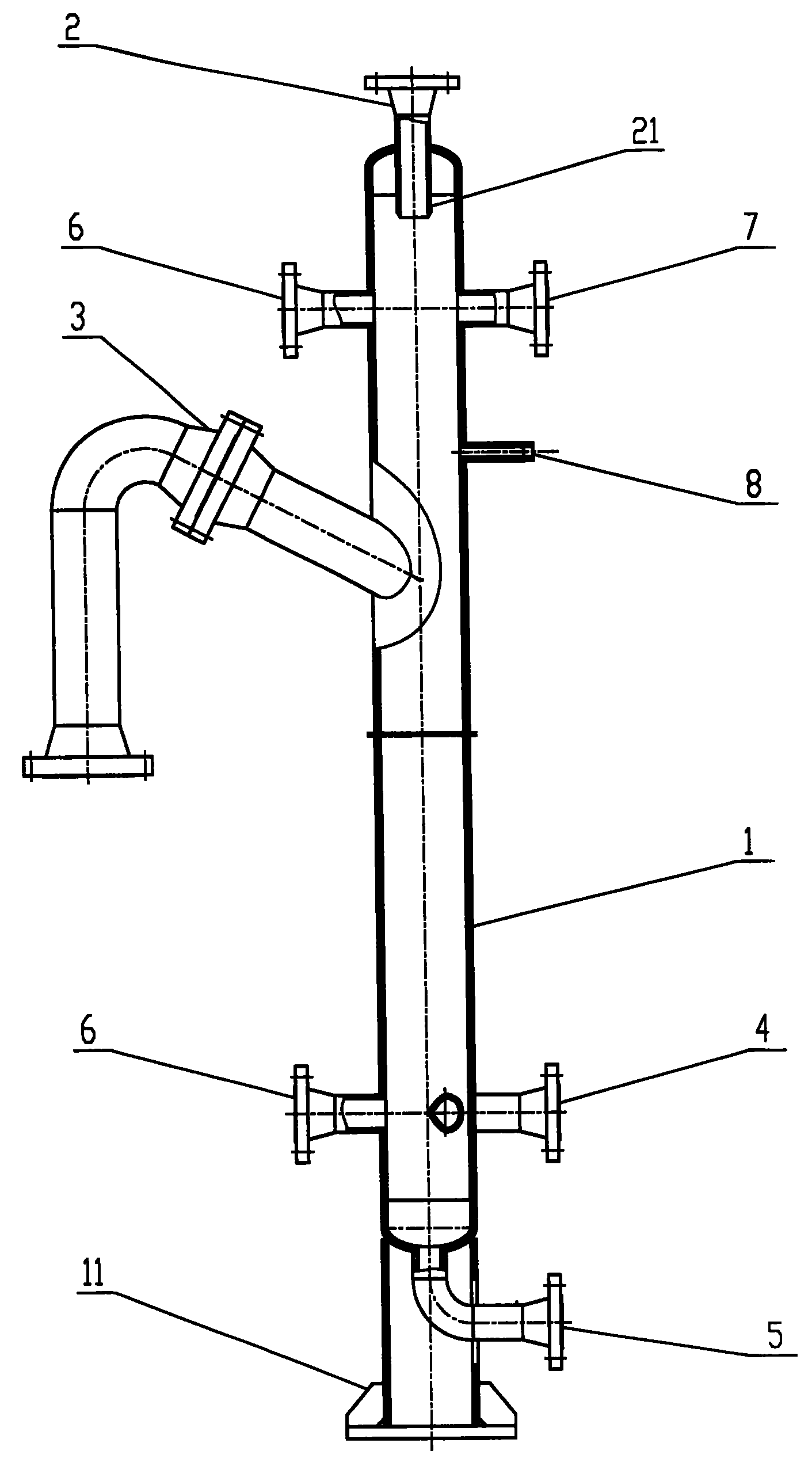
cn212663910u_一体式两级高效旋风分离器有效
图片尺寸1228x2711
图3-61 旋流型分离器
图片尺寸1008x729
根据旋风分离器设计准则,设计了结构尺寸,建立流场三维物理模型,应用
图片尺寸800x583
水力旋流分离器
图片尺寸272x352
一种旋流式气液分离器
图片尺寸1411x2547
基于cfd的旋风分离器短路流计算方法分析
图片尺寸636x547
cn213409076u_一种气液旋流分离器有效
图片尺寸1976x2188
cn201006498y_一种第三级旋风分离器失效
图片尺寸800x1079