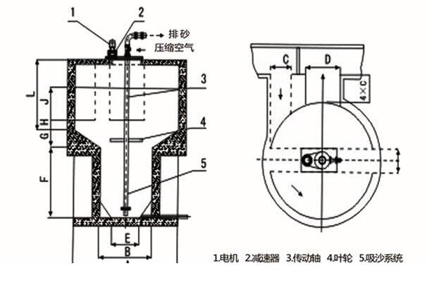
旋流沉砂池CAD

旋流沉砂池
图片尺寸681x433
分享细格栅旋流沉砂池施工图资料下载
图片尺寸473x379
污水处理厂细格栅及旋流沉砂池施工图
图片尺寸760x570
细格栅及旋流沉砂池结构施工图
图片尺寸560x242
钟式沉砂池
图片尺寸606x411
北京某污水处理厂细格栅及旋流沉砂池详图
图片尺寸560x383![[分享]滴灌沉砂池资料下载](https://i.ecywang.com/upload/1/img0.baidu.com/it/u=523745555,4028849713&fm=253&fmt=auto&app=138&f=JPEG?w=560&h=420)
[分享]滴灌沉砂池资料下载
图片尺寸560x420
曝气沉砂池
图片尺寸462x230
旋流沉砂池存在问题在生物处理单元,需要重点关注搅拌系统,悬浮填料
图片尺寸554x266
平流沉砂池
图片尺寸609x478
七,竖流式沉淀池来源:化工707七,水力旋流器与螺旋洗砂机六,除砂设备
图片尺寸399x305
分享平流沉砂池设计图dwg资料下载
图片尺寸560x404
图2 粗格栅,提升泵房和旋流沉砂池(2)调节池的工艺流程调节池的作用是
图片尺寸1080x651
三,钟式沉砂池二,曝气沉砂池一,平流沉砂池沉砂池十七,中心传动刮泥机
图片尺寸387x309
曝气沉砂全景十一,曝气沉砂池十,砂泵九,桥式吸砂机八,水力旋流器七
图片尺寸411x325![[分享]旋流式沉砂池详图资料下载](https://i.ecywang.com/upload/1/img2.baidu.com/it/u=1173761418,843737279&fm=253&fmt=auto&app=138&f=JPEG?w=418&h=500)
[分享]旋流式沉砂池详图资料下载
图片尺寸468x560
设计说明:有类型:自来水厂处理技术:格栅筛网, 沉淀
图片尺寸560x420
dyj086旋流沉砂池
图片尺寸1000x843
(4)粗格栅间及进水泵房,细格栅及旋流沉砂池,鼓风机房,污泥脱水房的
图片尺寸1080x396
经粗格栅截留较大的漂浮物,然后进入细格栅和沉砂池,分别去除较小的
图片尺寸1389x816