旋盖机原理

一种旋盖机
图片尺寸1376x2559
一种半自动旋盖机的制作方法
图片尺寸1729x1973
一种瓶盖自动型旋盖机
图片尺寸1764x2196
一种高速旋盖机的制作方法
图片尺寸1000x889
一种无菌旋盖机的制作方法
图片尺寸675x1000
全自动通用型真空旋盖机原理图
图片尺寸960x497
一种真空旋盖机的抽真空旋盖机构的制作方法
图片尺寸733x1000
一种多头旋盖机
图片尺寸1917x963
河北全自动酱料真空旋盖机封口机
图片尺寸500x694
一种洗衣液生产用旋盖机
图片尺寸1327x1490
sc-zkxg130b 三(四)旋盖玻璃瓶全自动真空旋盖机
图片尺寸455x314
高速全自动旋盖机
图片尺寸2144x2439
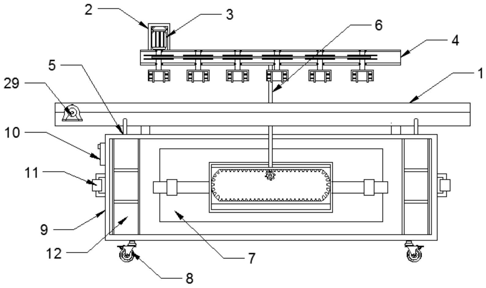
一种山泉水生产旋盖机
图片尺寸1596x1304
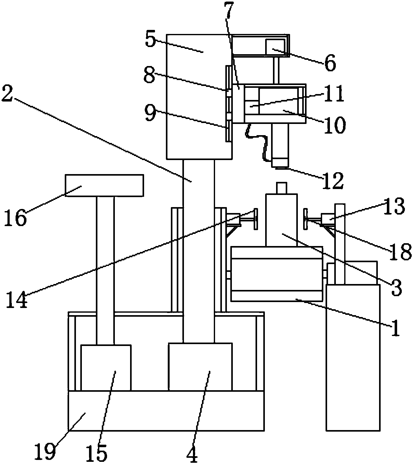
一种四轮旋盖机的制作方法
图片尺寸1000x989
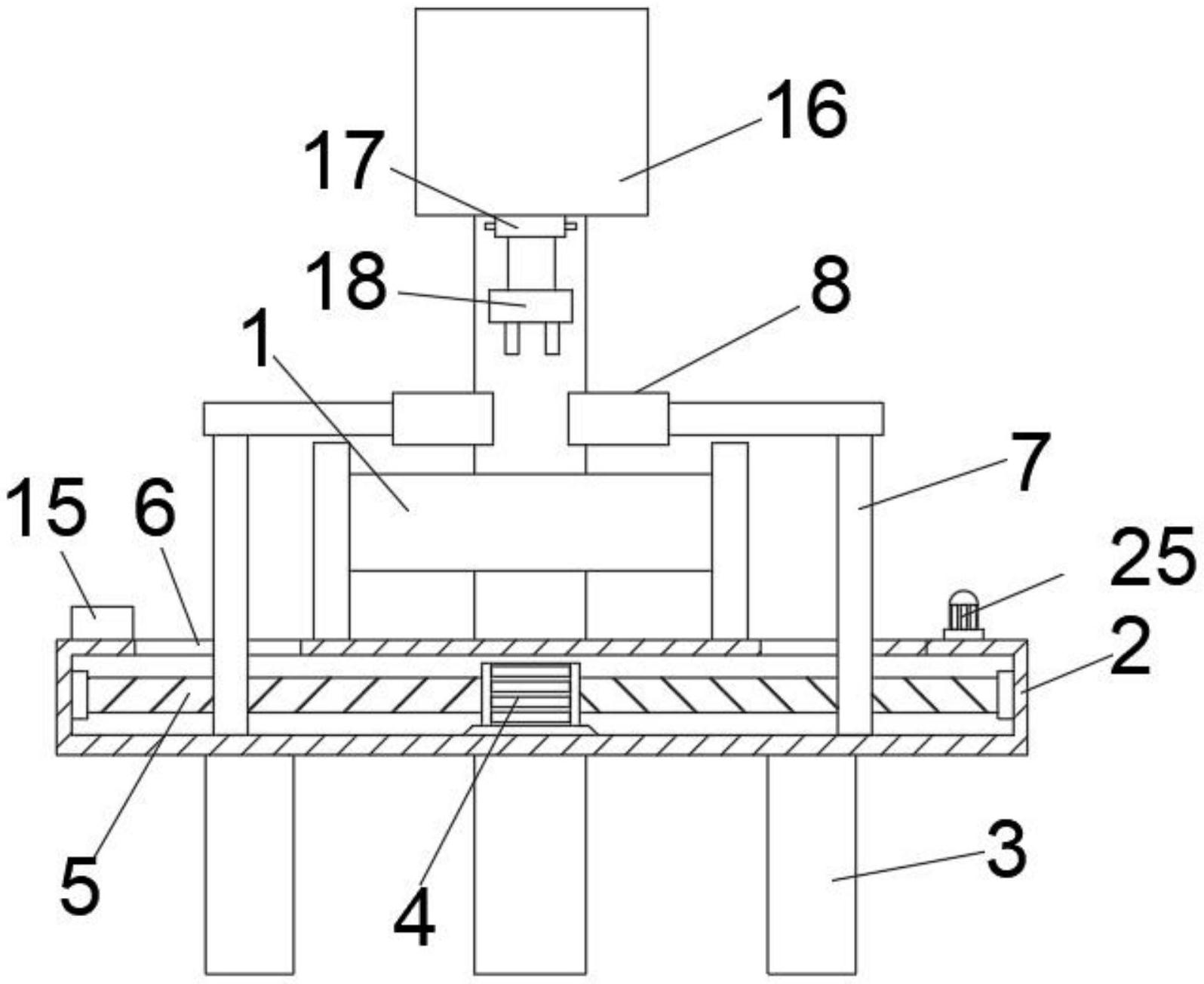
cn206328126u_一种瓶盖自动旋盖机有效
图片尺寸1440x1518
一种旋盖效果好的自动直列式旋盖机
图片尺寸1587x943
旋盖机的制作方法
图片尺寸1000x814
一种灌装用真空旋盖机的制作方法
图片尺寸887x1000
一种饮料灌装用旋盖机的制作方法
图片尺寸443x421
一种四头灌装旋盖一体机的制作方法
图片尺寸1000x976