旋转喷头原理

高压水射流旋转喷头结构及工作原理
图片尺寸500x400
cn2288015y_高压水旋转喷头失效
图片尺寸574x957
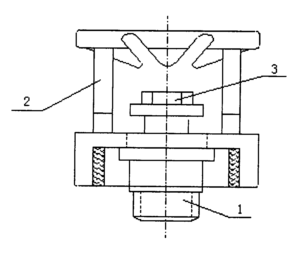
转盘式离心喷头工作原理示意图
图片尺寸514x331
石油开采中的高压旋转喷头结构示意图
图片尺寸500x500
cn201596585u_用于干燥轴承的旋转式空气喷嘴失效
图片尺寸800x886
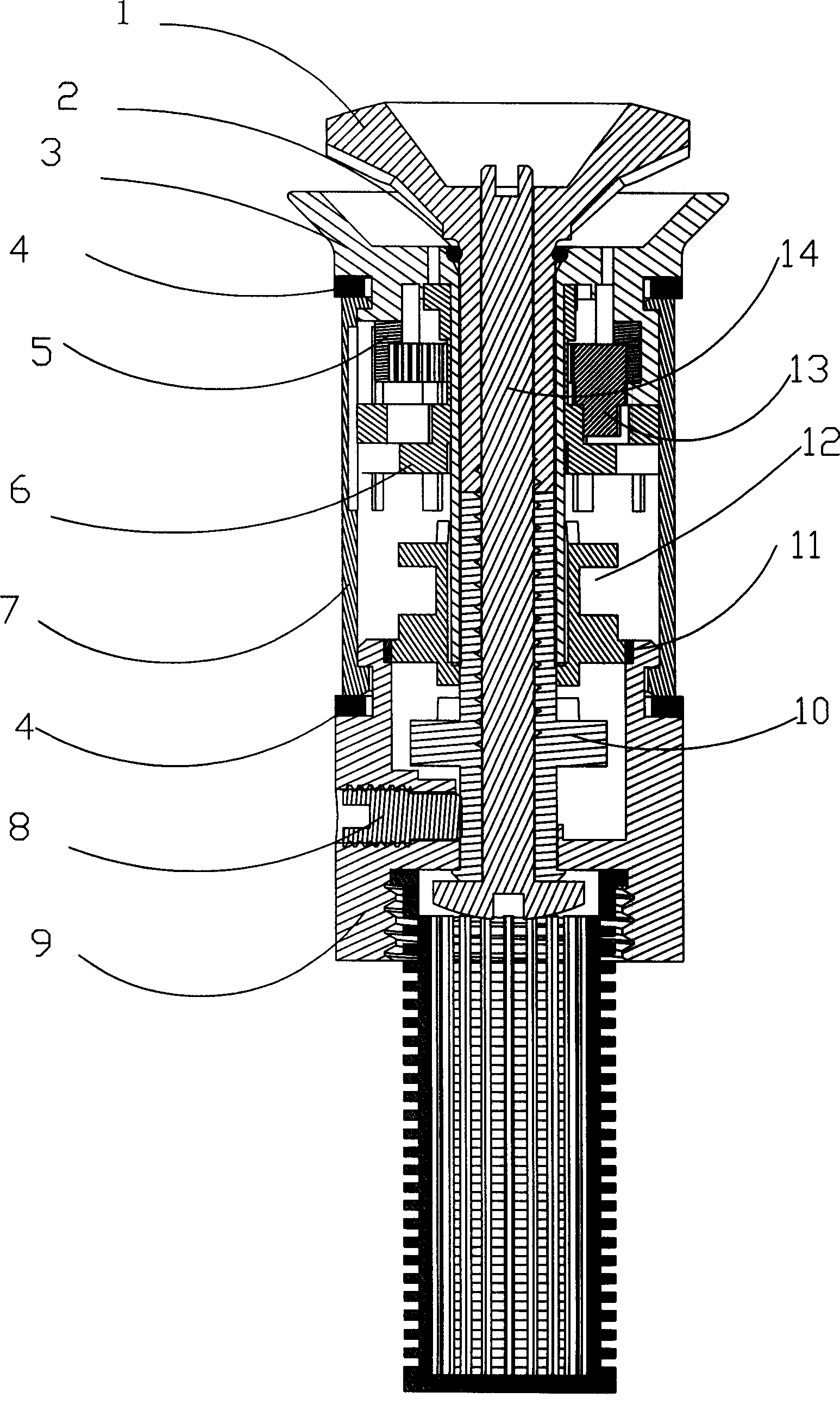
旋转喷头
图片尺寸1546x2608
射流直冲叶轮旋转式造雨喷头
图片尺寸2688x2144
一种方便组装的旋转式灌溉喷头
图片尺寸1142x2010
cn107457098a_自旋转喷头在审
图片尺寸727x1000
cn101716565b_用于干燥轴承的旋转式空气喷嘴失效
图片尺寸985x1087
cn107377264a_一种智能旋转喷头在审
图片尺寸305x280
高压清洗自旋转摆动喷头的制作方法
图片尺寸1000x560
一种绿化浇水用旋转喷头的制作方法
图片尺寸1000x934
cn206215400u_一种旋转喷头有效
图片尺寸1000x919
一种旋转式消防喷头的制作方法与工艺
图片尺寸1000x841
一种三维旋转喷头的制作方法
图片尺寸1000x960
一种可用于地埋的开放流道型旋转喷头制造技术
图片尺寸791x1000
cn101444767a_折射旋转仰角可变式喷头失效
图片尺寸1040x901
新型旋转喷头的制作方法
图片尺寸832x1000
浇地喷枪喷灌浇水农用灌溉除尘抗旱涡轮涡杆自动旋转高压喷头40涡轮加
图片尺寸750x920