旋转导电装置

旋转圆盘电极装置
图片尺寸3072x2304
360度旋转导电滑环,国产先进旋转导电装置图片_3
图片尺寸1080x1920
电动转盘旋转展示台架舞台转盘遥控调速正反转产品商品拍摄转芯导电
图片尺寸750x566
360度旋转导电滑环,国产先进旋转导电装置图片_4
图片尺寸394x520
铜质电击滑环旋转导电碳刷导电滑环机械设备滑环河北厂家批发
图片尺寸750x750
360度旋转导电关节大功率360度旋转导电接头 滑环 设备滑环
图片尺寸240x320
惠利得 定制sfcp22e-1k 2k5k10k思博sakae高精密360度连续旋转导电
图片尺寸800x800
旋转导电滑环接线安装使用方法
图片尺寸800x684
导电滑环电气旋转
图片尺寸750x750
供应中心集电器 集电环 中心旋转导电装置 旋转导电环中心集电环
图片尺寸800x800
minuo贯通轴旋转型电位器导电塑料电位器角度传感器wda-d35-d1b
图片尺寸750x750
wdg销售wda-d35-d1f精密线性导电塑料传感器长轴旋转电位器wdd
图片尺寸750x750
旋转导电滑环有哪些特性
图片尺寸720x413
旋转位置传感器 - gp - novotechnik/诺沃泰克 - 带导电塑料电位计
图片尺寸500x500
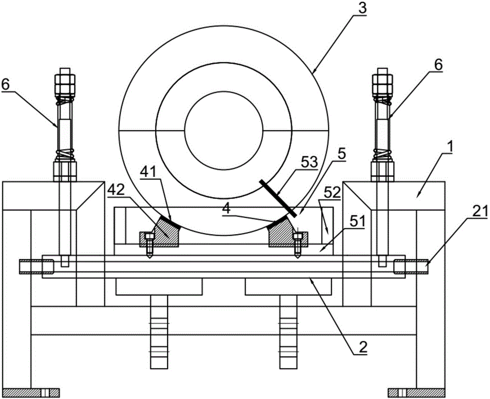
cn208762597u_一种旋转导电装置及电镀设备有效
图片尺寸1000x814
电气混合旋转导电滑环,1路气电气滑环,2路-24路电气滑环
图片尺寸700x394
一种无磨损旋转导电装置 - cn201710818939.
图片尺寸839x1000
旋转门导电滑环
图片尺寸1210x750
360度旋转接头,360度旋转关节,360度旋转导电滑环
图片尺寸651x487
角位移传感器wdd35d4g 精密旋转导电塑料电位器
图片尺寸800x800