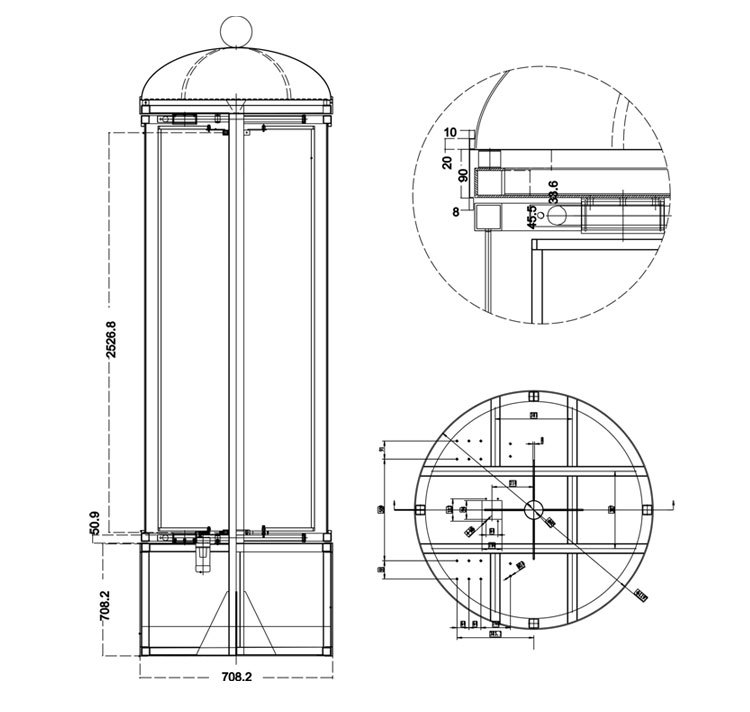
旋转灯箱结构图

一种旋转展示广告灯箱-爱企查
图片尺寸840x1143
一种便于更换led灯的旋转灯箱
图片尺寸1126x1929
旋转灯箱的制作方法
图片尺寸835x1000
一种可全方位展示的室外用旋转式广告灯箱
图片尺寸1173x1392
一种三面旋转灯箱的制作方法
图片尺寸1000x995
一种旋转展示广告灯箱的制作方法
图片尺寸736x1000
一种新型专柜旋转灯箱制造技术
图片尺寸583x1000
旋转灯箱的制作方法
图片尺寸709x1000
旋转灯箱的制作方法
图片尺寸1000x877
国色 旋转灯箱 圆柱灯箱 包柱灯箱 超薄 led大型圆柱灯箱 可定制
图片尺寸750x712
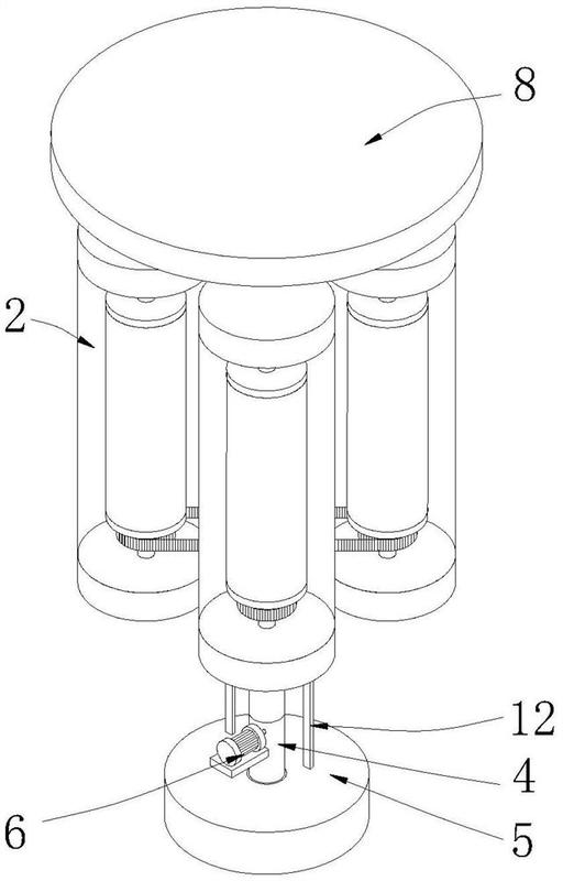
多个所述灯箱模块以旋转底座的转轴为轴心围合成多边形结构,且每一所
图片尺寸799x754
led户外滚动换画灯箱不锈钢灯箱旋转式广告灯箱
图片尺寸500x530
36度圆弧灯箱制作设计图
图片尺寸3000x2153
户外立式落地可移动方形旋转灯箱多层组合四面网红抽画滚动广告牌
图片尺寸1280x1280
一种用于拉布灯箱的转角结构及发光支撑结构的制作方法
图片尺寸931x1000
cn102537855a_一种灯具旋转装置以及搜索灯有效
图片尺寸1910x2392
cn203812485u_一种新型多用途滑槽可旋转式广告灯箱失效
图片尺寸719x1000
单固定座可旋转灯箱-爱企查
图片尺寸512x800
外立面led灯箱正面维护方案灯箱结构2,采用高品质组件,保证产品品质
图片尺寸688x401
led 光纤灯箱的结构
图片尺寸700x877