旋转结构图

什么是钢结构旋转楼梯
图片尺寸844x680
旋转结构
图片尺寸636x690
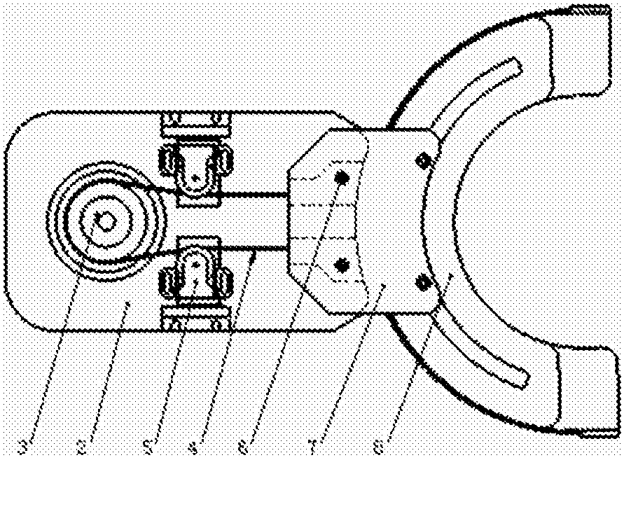
一种架桥机旋转机构的制作方法
图片尺寸961x1000
一种旋转机构
图片尺寸1000x928
旋转结构模型图
图片尺寸2111x1281
螺旋结构(旋转楼梯)大家用的到吗?
图片尺寸466x604
旋转结构体的制作方法
图片尺寸721x1000
cn204802600u_一种工件翻转转移机构失效
图片尺寸1000x700
90度翻转取料机构设计多轴旋转结构旋转如何吸附零件
图片尺寸1465x916
求助大神们 设计一个旋转可拆卸的结构
图片尺寸586x572
cn108651561a_揉面机折叠旋转机构的折叠旋转传动装置在审
图片尺寸885x440
四工位测电池旋转结构
图片尺寸764x603
求教:一种旋转结构
图片尺寸404x190
旋转调节机构
图片尺寸891x727
一种可微调高度式旋转结构的制作方法
图片尺寸1000x983
一种带有新型旋转结构的整铸型高速三元流叶轮的制作方法
图片尺寸416x355
一种音乐盒旋转结构
图片尺寸863x1000
cn2937593y_双轴式板对板旋转结构失效
图片尺寸2429x1828
具有旋转结构的烹饪设备的制作方法
图片尺寸1000x927
一种雾炮进水管旋转连接结构
图片尺寸1998x1954