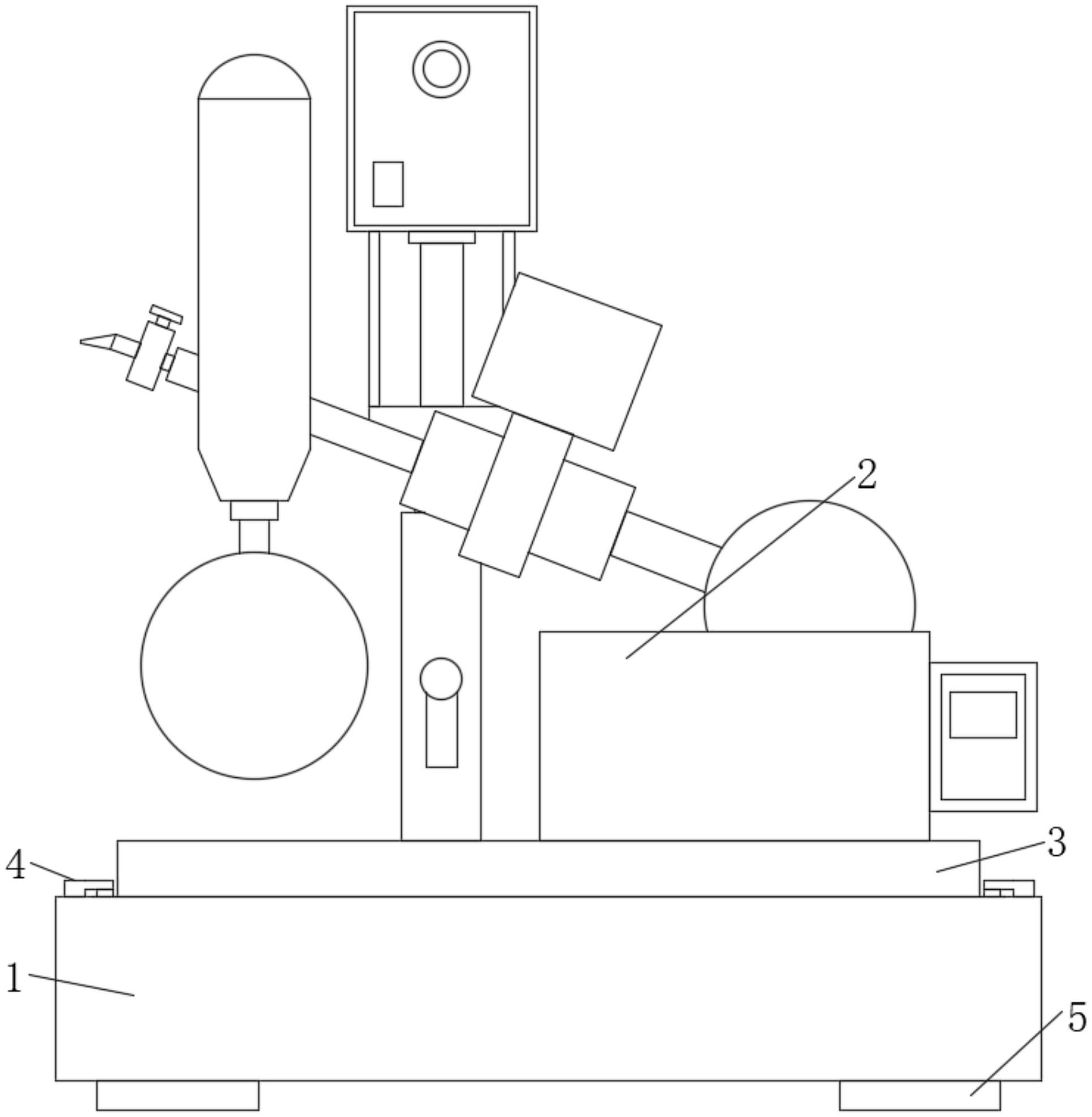
旋转蒸发仪平面图

巩义予华 yre-301型旋转蒸发器-巩义市予华仪器有限责任公司
图片尺寸1275x1755
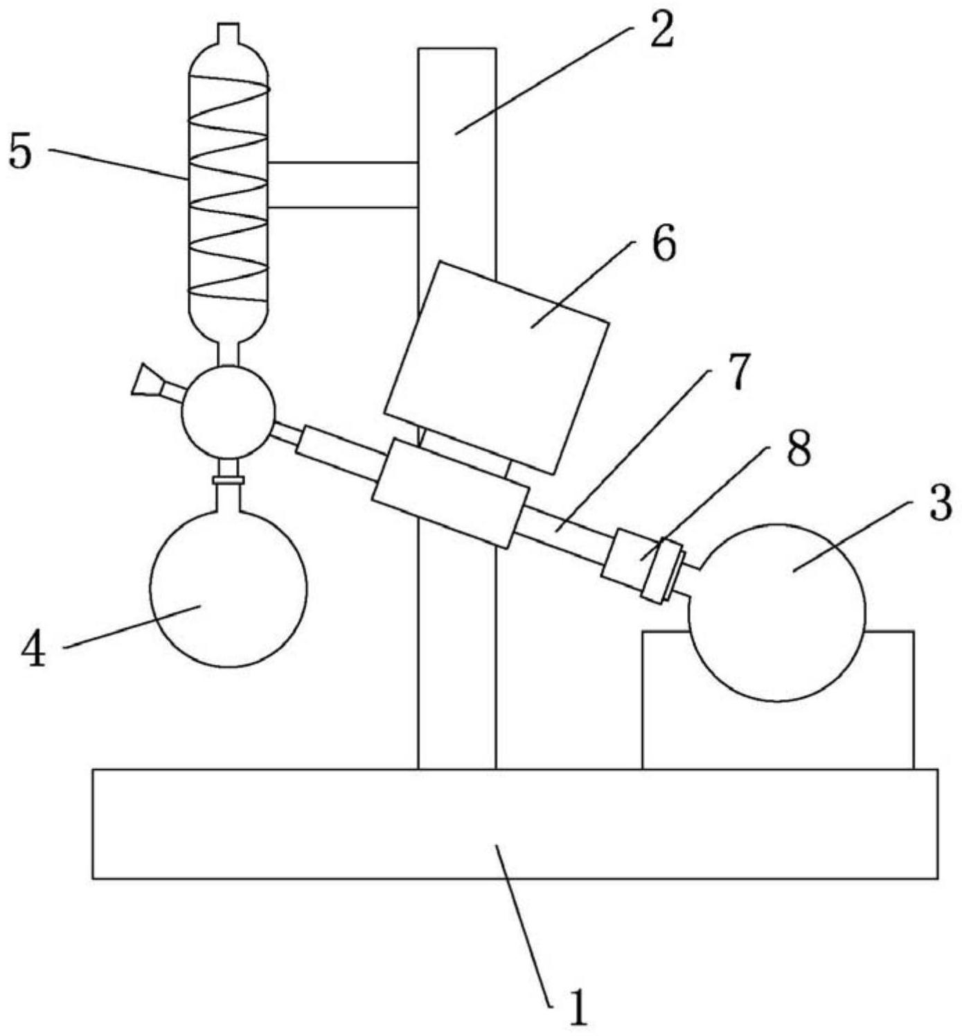
一种旋转蒸发仪制造技术
图片尺寸847x1000
yre-5299医药化工旋转蒸发仪
图片尺寸630x777
一种旋转蒸发仪的制作方法
图片尺寸1000x866
一种旋转蒸发仪的制作方法
图片尺寸346x443
cn212491650u_一种制药中充分利用药材药性的全自动旋蒸装置
图片尺寸2250x1563
一种稳定性好的食品检测用旋转蒸发仪-爱企查
图片尺寸1933x1976
郑州长城科工贸有限公司厂家供应r-1005ex5l防爆型旋转蒸发仪
图片尺寸2114x2354
一种旋转蒸发仪的制作方法
图片尺寸960x1000
cn111760315a_一种旋转蒸发仪
图片尺寸1389x1495
cn210905015u_一种旋转蒸发仪有效
图片尺寸940x1000
一种防倒吸的旋转蒸发仪的制作方法
图片尺寸1000x837
一种旋转蒸发仪的制作方法
图片尺寸1000x870
一种防倒吸的旋转蒸发仪
图片尺寸1679x1406
一种真空旋转蒸发仪的制作方法
图片尺寸1000x754
一种平衡型旋转蒸发仪的制作方法
图片尺寸1000x979
一种旋转蒸发仪的制作方法
图片尺寸701x1000
cn203852851u_一种旋转蒸发仪失效
图片尺寸795x1000
一种便于使用的旋转蒸发器
图片尺寸1970x2224
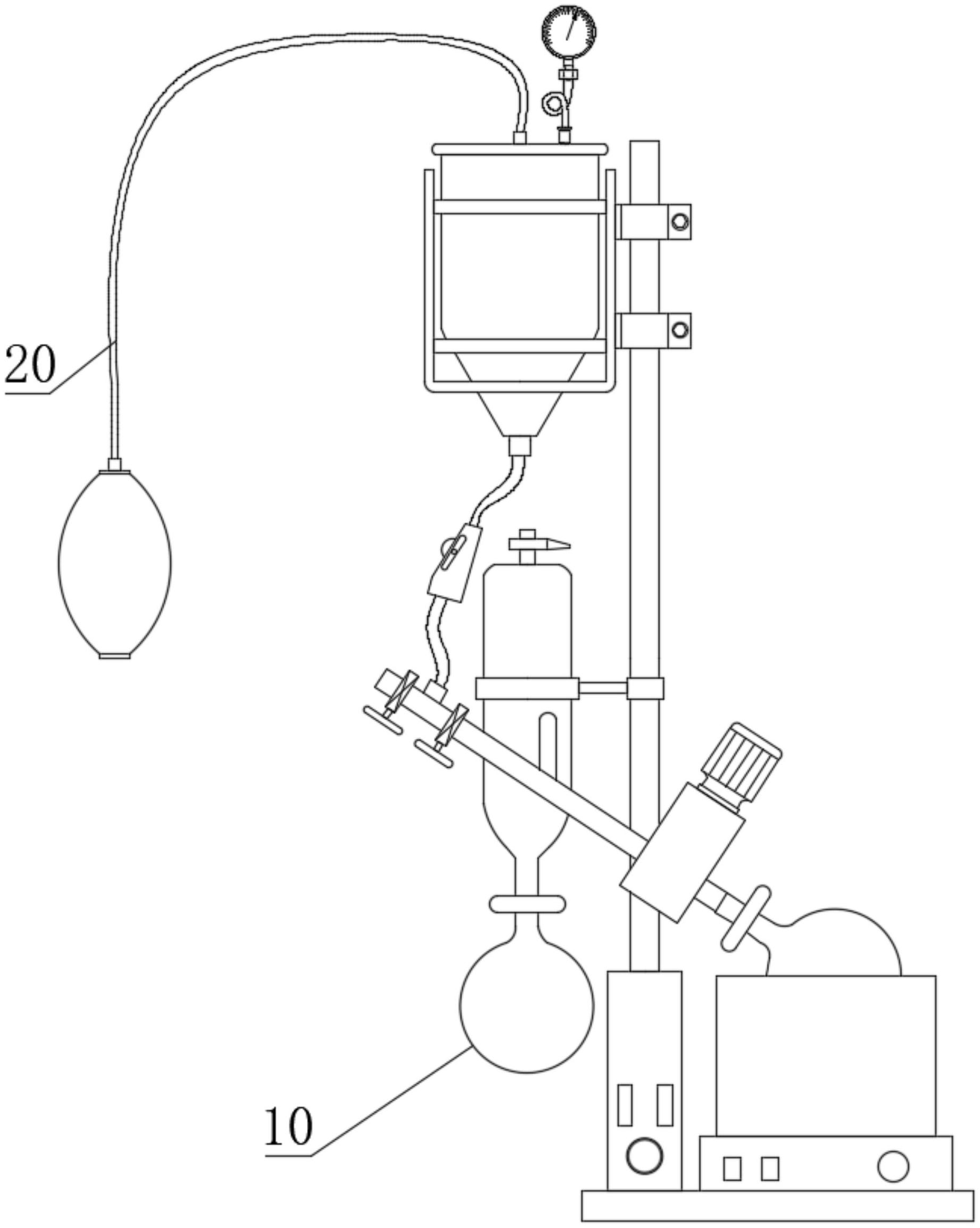
一种化学实验用可连续进料的旋转蒸发仪-爱企查
图片尺寸1842x2307