旋转蒸发仪结构

yre-5299医药化工旋转蒸发仪
图片尺寸630x777
兰帆旋转蒸发仪的组成部件有哪些?
图片尺寸653x742
旋转蒸发器安装图_化工仪器网
图片尺寸575x437
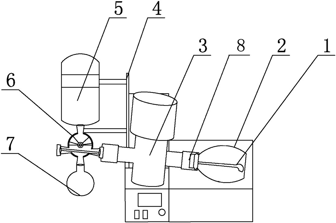
一种旋转蒸发仪制造技术
图片尺寸847x1000
上海亚荣 re-52aa 旋转蒸发器 旋转蒸发仪浓缩提纯结晶实验室使用
图片尺寸750x1195
旋转蒸发器50l旋转蒸发仪热re5002上海旋转蒸发器厂家直销现货
图片尺寸790x1453
srdr1030ex系列防爆旋转蒸发仪器30升
图片尺寸1200x750
re52a旋转蒸发仪说明介绍
图片尺寸696x488![瑞士buchi r210旋转蒸发仪操作手册:[7]](https://i.ecywang.com/upload/1/img1.baidu.com/it/u=2935073184,1645464820&fm=253&fmt=auto&app=138&f=JPEG?w=500&h=707)
瑞士buchi r210旋转蒸发仪操作手册:[7]
图片尺寸2381x3368
旋转蒸发仪re201d实验室蒸发器蒸馏萃取旋蒸仪
图片尺寸790x674
一种便于使用的旋转蒸发器
图片尺寸1970x2224
旋转蒸发仪产品结构图
图片尺寸920x1303
旋转蒸发仪产品结构图
图片尺寸920x1302
一种防倒吸的旋转蒸发仪的制作方法
图片尺寸1000x837
上海力辰re-1002大容量旋转蒸发器实验室冷凝结晶10升旋蒸仪 lc-re
图片尺寸750x972
蛋白液旋转蒸发仪,属于实验室设备技术领域,包括设置有旋转结构的支架
图片尺寸1098x729
旋转蒸发仪,r-1010,大型,转速:20-130rpm,最大真空度:399.9pa
图片尺寸800x489
旋转蒸发仪产品结构图
图片尺寸920x1302
厂家直销瑞力仪器旋转蒸发器2l3l5l10l20l50l旋转蒸发仪减压蒸馏
图片尺寸750x1884
cn210905015u_一种旋转蒸发仪有效
图片尺寸940x1000