旋转迷宫密封

油封盒式轮毂旋转迷宫工程机械密封件密封件
图片尺寸3024x4032
迷宫式密封
图片尺寸679x445
迷宫密封
图片尺寸609x665
图2 迷宫密封
图片尺寸283x299
密封间隙对迷宫密封性能影响的三维数值分析
图片尺寸487x483
cn1418300a_可旋转构件之间的迷宫式密封失效
图片尺寸605x709
图15 防尘节流环和防尘迷宫密封
图片尺寸600x361
5/14内旋转/迷宫油封工程机械用密封件
图片尺寸960x960
207-高速旋转轴迷宫密封仿真视频fluent15.
图片尺寸659x478
大量现货电机轴瓦旋转油封浮动式迷宫油封125*155*26
图片尺寸270x270
求迷宫密封图片
图片尺寸1028x928
迷宫密封课件
图片尺寸800x450
迷宫密封
图片尺寸800x600
> 迷宫密封
图片尺寸1080x810
什么是迷宫密封件?其密封原理?
图片尺寸619x528
真空旋转密封圈睢县旋转密封圈思密达机械查看
图片尺寸700x394
常见动设备密封形式和使用范围以及特点_迷宫
图片尺寸379x354
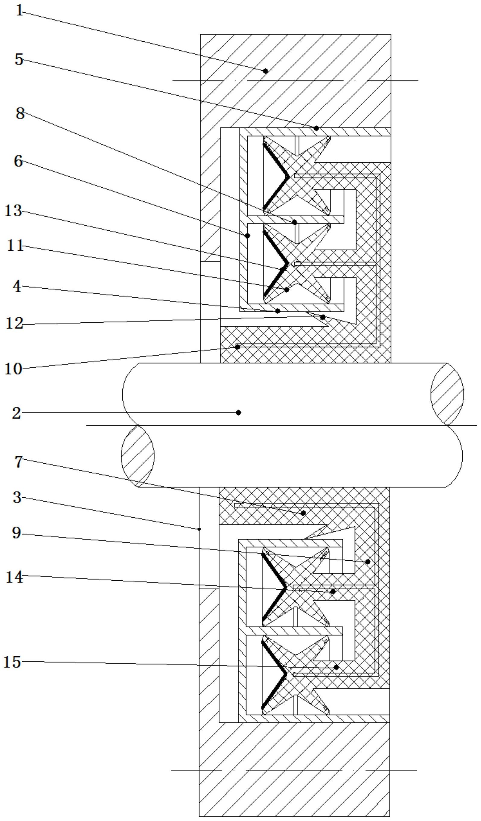
用于转动轴的轴向多唇迷宫密封装置
图片尺寸1595x2722
迷宫密封结构 lw3-1cep mech
图片尺寸1080x810
迷宫式密封环
图片尺寸1919x1920