旋转阀门结构图

本技术涉及一种阀门,尤其涉及一种偏心旋转阀.
图片尺寸320x480
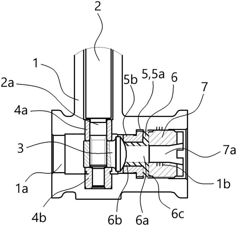
和阀瓣组成圆柱体形状,阀芯流道通孔的两侧通过燕尾槽结构与阀瓣连接
图片尺寸1709x2303
旋转阀类别,旋转阀分类,如何区别旋转阀类型_上海沃托阀门有限公司
图片尺寸700x260
zjrp气动偏心旋转阀
图片尺寸411x319
直吹型旋转阀rbl的结构分享到:下载资料立即咨询直吹型旋转阀可以直接
图片尺寸2000x848
空调扇结构图
图片尺寸572x529
一种缩颈结构的偏心旋转阀-爱企查
图片尺寸800x763
产品库 泵阀 阀门仪表 截止阀 tkqr600电/气动偏心旋转阀
图片尺寸578x825
cn201386825y_保温夹套偏心旋转阀失效
图片尺寸800x988
一种旋塞阀
图片尺寸1675x2753
专业生产zsrf型气动活塞偏心旋转阀
图片尺寸600x407
1.本发明涉及阀门技术领域,具体涉及一种改良型偏心旋转阀.
图片尺寸314x443
【耐高温旋转阀 】川南厂家 自立品牌
图片尺寸769x580
四方向旋转的示意图如下
图片尺寸640x388
日本motoyama偏心旋转阀电动气动调节阀
图片尺寸626x893
气动陶瓷旋转阀,gz644b气动陶瓷旋转阀产品详情-浙江铭昌自控阀门有限
图片尺寸732x382
气动活塞偏心旋转阀
图片尺寸496x687
一种带有防黏料功能的旋转阀的制作方法
图片尺寸803x1000
一种偏心旋转阀的制作方法
图片尺寸964x1000
本实用新型涉及阀门技术领域,具体涉及一种高压旋转阀.
图片尺寸764x1000