旋转阻尼器结构原理图

旋转阻尼器
图片尺寸1000x903
cn203693466u_一种便器盖板旋转阻尼器有效
图片尺寸1000x628
单向旋转缓冲阻尼器的制作方法
图片尺寸1000x854
一种旋转阻尼器
图片尺寸1000x758
台北101大厦阻尼器工作原理
图片尺寸447x352
工程科技 电力/水利 汽轮机调速系统的组成和工作原理ppt 旋转阻尼器
图片尺寸1080x810
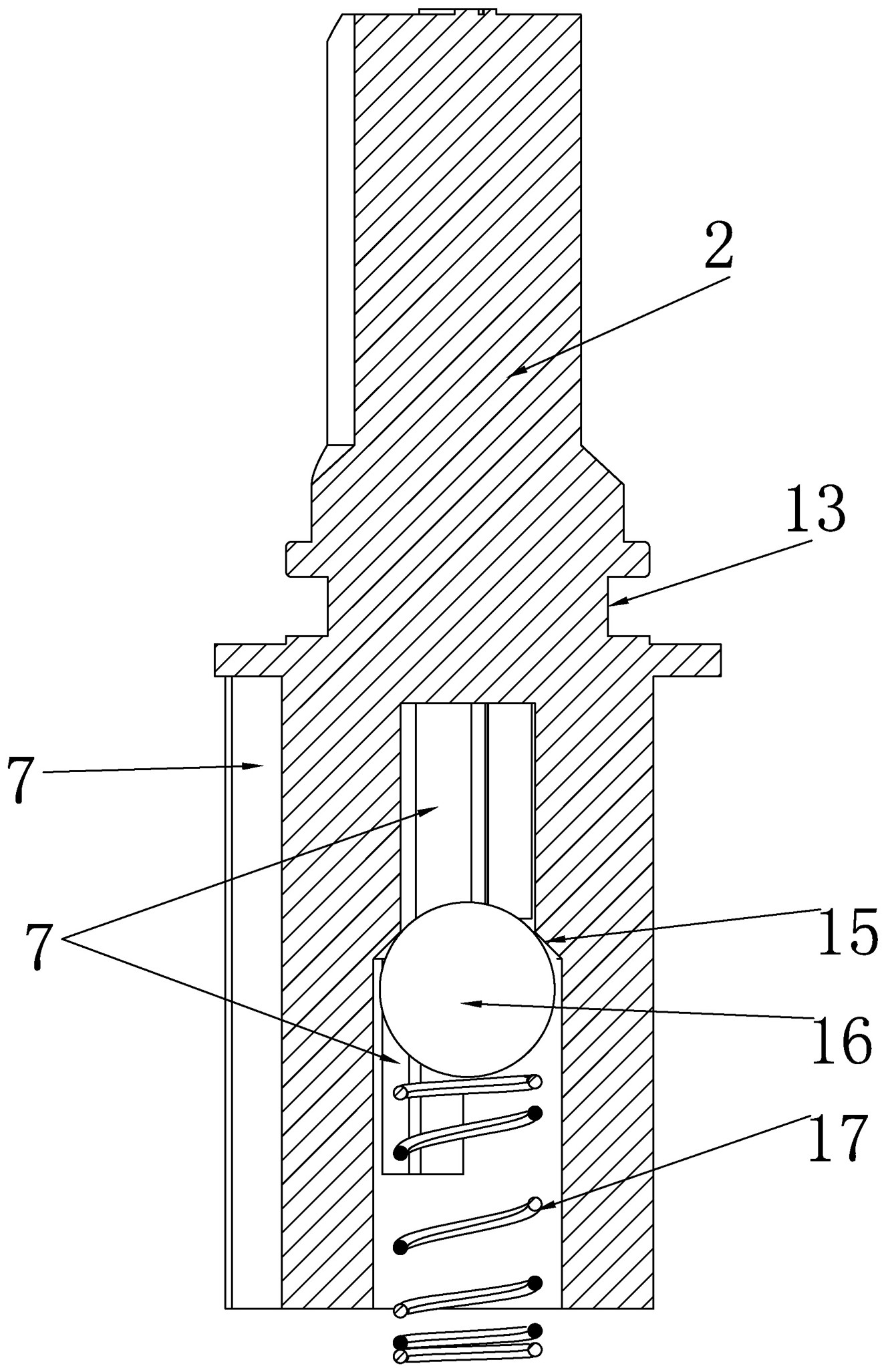
旋转阻尼器的制作方法
图片尺寸437x443
该阻尼器是由螺杆,外筒和磁场发生器构成,外筒为单层或双层结构;在
图片尺寸1846x1703
一种阻尼力矩可调的多回转式旋转阻尼器的制作方法
图片尺寸1000x970
该旋转式阻尼器成为如下结构,即,在由筒体和一对盖体包围成的空间内
图片尺寸670x1000
一种旋转摩擦阻尼器
图片尺寸1454x2044
旋转阻尼器的制作方法
图片尺寸836x1000
旋转阻尼器
图片尺寸1176x1103
一种座式内旋转型轴向电涡流阻尼器的制作方法
图片尺寸661x1000
一种旋转体阻尼机构的制作方法
图片尺寸1000x928
一种单向旋转阻尼器
图片尺寸1326x2054
一种旋转阻尼器的制作方法
图片尺寸300x429
cn212155606u_单向可调大扭矩旋转变阻尼器有效
图片尺寸1170x2578
旋转阻尼器
图片尺寸1000x614
cn1853054a_旋转阻尼器有效
图片尺寸1771x753