旗杆电动升降系统

电动旗杆
图片尺寸640x971
电动升降旗杆配件升旗装置电机控制器遥控器带国歌同步升降系统
图片尺寸800x800
二道江不锈钢电动旗杆,电动不锈钢旗杆智能升降装置
图片尺寸646x859
电动升降旗杆配件升旗装置电机控制器遥控器带国歌同步升降系统
图片尺寸800x800
红运旗杆不锈钢旗杆户外国旗杆机关企业锥形旗杆电动升降旗杆9米定金
图片尺寸790x1084
304不锈钢旗杆科阳电动旗杆9米锥形升降杆批发价格
图片尺寸750x750
最新推出隐形不锈钢电动升降旗杆
图片尺寸1078x1920
旗杆自动升降机电动升旗机音乐同步系统
图片尺寸750x750
全自动升降旗杆电子升降旗杆学校单位专用电动旗杆生产厂家
图片尺寸1080x1440
旗杆厂家不锈钢户外学校幼儿园304锥形电动升降移动旗杆9米12米安装
图片尺寸1080x1080
红耀电动升降旗杆锥形一体不锈钢旗杆厂家直供户外学校幼儿园工地
图片尺寸750x771
红运户外旗杆学校幼儿园锥形手电动升降旗杆304不锈钢旗杆9米121
图片尺寸300x300
让我们来了解一下电动旗杆的具体特色|泰安亿佳旗杆有限公司
图片尺寸777x960
漯河电动升降旗杆制作,不锈钢旗杆
图片尺寸600x400
新型智能电动旗杆 - 电动锥形旗杆 - 成都升降柱/成都旗杆/四川路障机
图片尺寸497x490
电动旗杆吹风旗杆自动升降功能颁奖旗杆包安装送货上门
图片尺寸1080x1440
电动旗杆户外不锈钢升降电机控制器升降器国旗升旗杆配件锥形一体
图片尺寸800x800
8米电动旗杆,遥控升降旗杆价格,不锈钢自动升降旗杆生产批发厂家
图片尺寸1080x1080
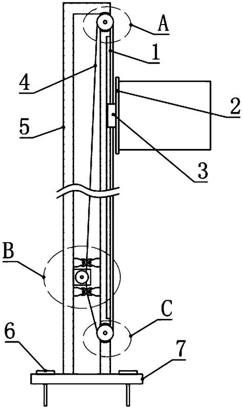
一种可遥控升降的旗杆装置-爱企查
图片尺寸475x799
304不锈钢旗杆科阳电动旗杆9米锥形升降杆批发价格
图片尺寸750x750