旗杆结构图

旗杆 #图纸 #结构设计 #方案 - 抖音
图片尺寸1440x2036
手动旗杆参数图
图片尺寸1080x1526
旗杆-产品展示-云南习尚科技有限公司_昆明电动伸缩门_昆明停车场系统
图片尺寸1080x1638
上热门 旗杆示意图#旗杆 #旗杆厂家 #西安旗杆 - 抖音
图片尺寸1280x923
电动旗杆国歌同步升旗安装高度尺寸图.
图片尺寸926x1280
旗杆设计图#图纸设计 #施工图深化 #效果图制作 - 抖音
图片尺寸1080x1625
专业服务企业旗杆单位旗杆机场旗杆医院旗杆定制厂家直营安装
图片尺寸790x1101
天津市万利盈金属门窗有限公司河北省电动不锈钢旗杆电话石家庄牢固
图片尺寸585x800
10米旗杆厂家价格多少钱一米?
图片尺寸1414x2000
10米12米锥形304不锈钢户外手摇升旗国旗杆 学校9米15米手动旗杆
图片尺寸600x800
不锈钢旗杆
图片尺寸498x690
电动旗杆的好处都有什么
图片尺寸640x873
合肥供水集团旗杆基础制作|合肥本地旗杆旗台施工厂家
图片尺寸1654x1917
10米12米不锈钢锥形旗杆 户外15米广场电动遥控国旗升旗杆
图片尺寸750x750
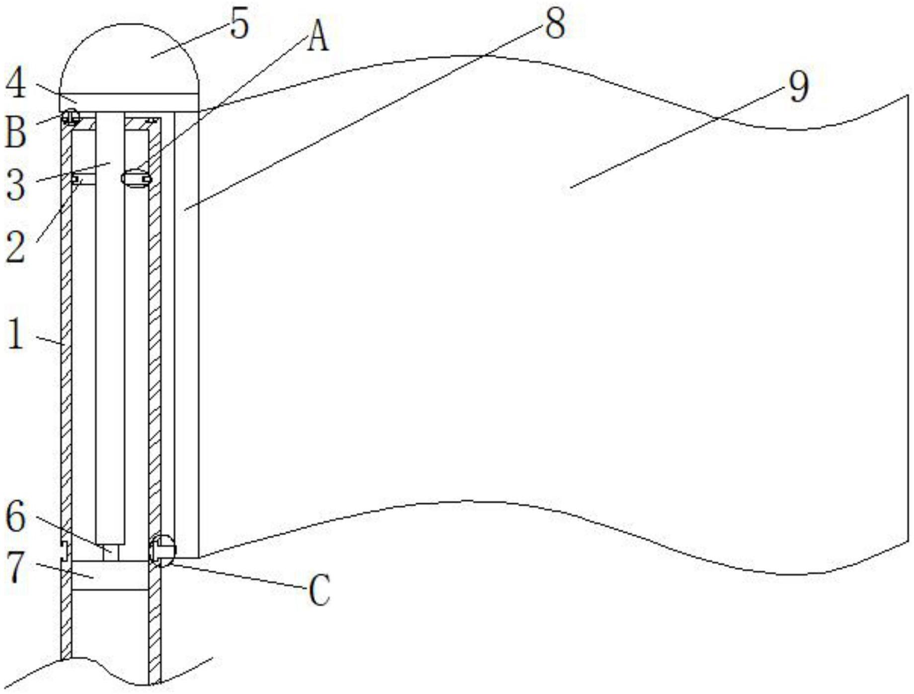
本实用新型涉及旗杆结构技术领域,且公开了一种可驱动红旗飘扬的旗杆
图片尺寸1129x2330
cn209261331u_旗杆结构有效
图片尺寸1849x1800
中海华科 旗杆厂家 旗杆批发 汉白玉旗台 部队旗杆 电动旗杆 学校旗杆
图片尺寸750x750
旗杆设计详图
图片尺寸1600x2581
一种非升降式防止缠绕的旗杆
图片尺寸1840x1398
重庆不锈钢旗杆生产厂家安装
图片尺寸629x608