无人机旋翼 结构图

图3 小型旋翼无人机机身结构
图片尺寸1080x821
一种模块化分离式设计的教学用微型四旋翼无人机
图片尺寸1883x1207
四旋翼无人机(xlong)
图片尺寸1004x1027
一种两栖四旋翼无人机的制作方法
图片尺寸1000x861
四旋翼飞行器无人机结构和原理
图片尺寸920x1302
一种两栖四旋翼无人机的制作方法
图片尺寸1000x862
多旋翼无人机的结构—新疆凯兰无人机驾驶员培训
图片尺寸640x351
一种便于拆装和调节的无人机旋翼结构的制作方法
图片尺寸1000x462
四旋翼消防灭火无人机的制作方法
图片尺寸1000x775
5kg载重长续航六旋翼无人机
图片尺寸2052x1230
cn104002964b_多旋翼无人机有效
图片尺寸1602x1535
基于ros的视觉四旋翼无人机
图片尺寸1656x1351
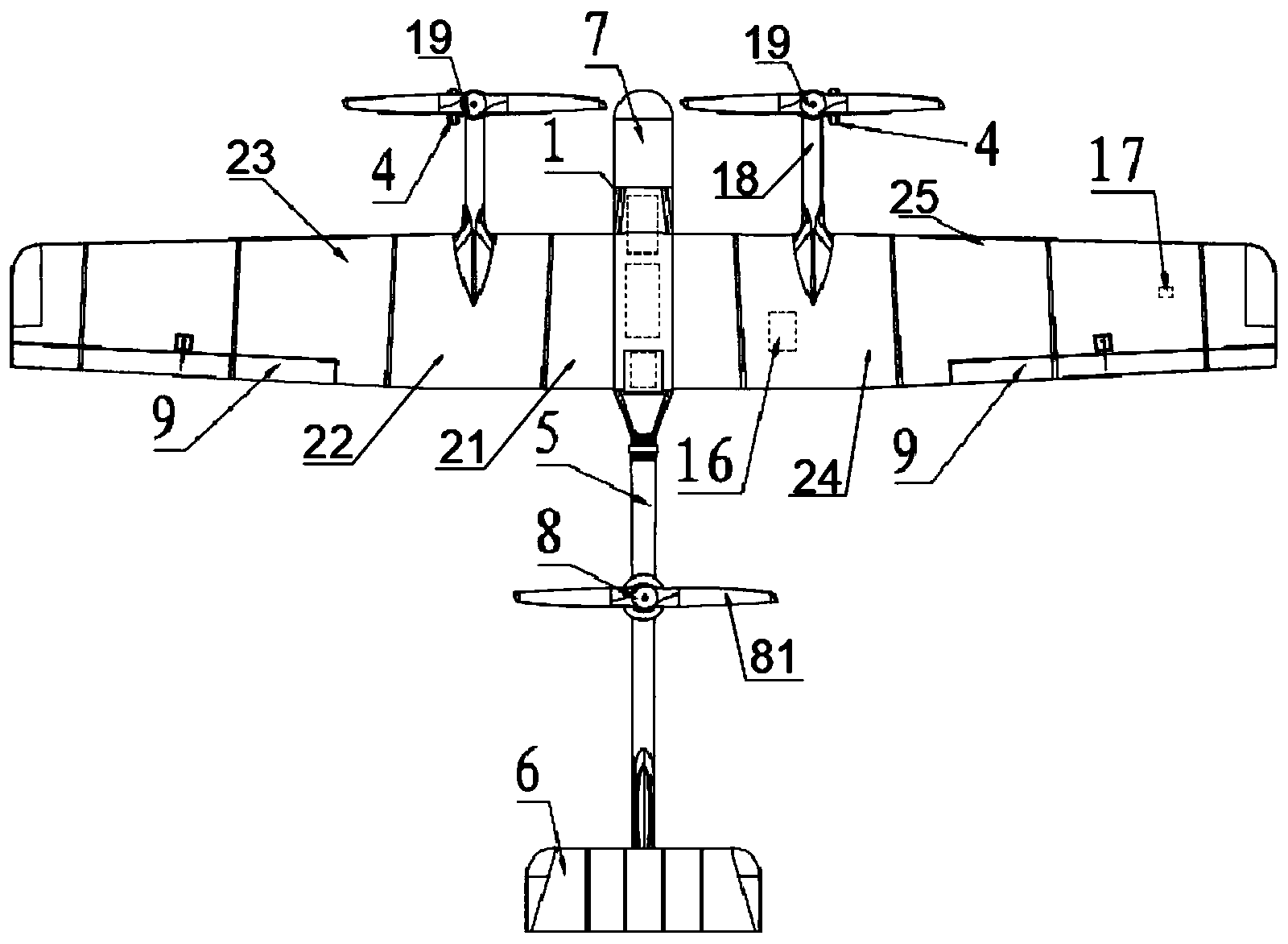
一种垂直起降倾转三旋翼无人机
图片尺寸1600x1172
六旋翼无人机图纸
图片尺寸1616x858
数字电视外辐射源雷达多旋翼无人机微多普勒效应实验研究
图片尺寸1280x2371
可远距离定点悬停的四旋翼无人机
图片尺寸1583x1004
如何快速了解零零科技双旋翼无人机资料搜索
图片尺寸572x556
无人机之旋翼与机架组合结构的制作方法
图片尺寸691x1000
四旋翼飞行器无人机结构和原理
图片尺寸458x477
一种可折叠多旋翼无人机的制作方法
图片尺寸1000x691