无动力小车制作图

一种绕双8字轨迹行驶的无碳小车
图片尺寸393x444
简单易学的无动力小车
图片尺寸1080x1920
用硬纸板制作一个风帆小车,有风就能跑
图片尺寸1152x720
无碳小车方案设计论文
图片尺寸688x425
工程实训无碳小车
图片尺寸582x708
无动力玩具车设计模型
图片尺寸811x587
cn209348105u_s型无碳小车
图片尺寸1000x900
diy科技小制作无动力逆风行驶小车 动手组装科学手工实验创意材料
图片尺寸800x800
无动力玩具车
图片尺寸798x673
无动力玩具车设计模型
图片尺寸820x508
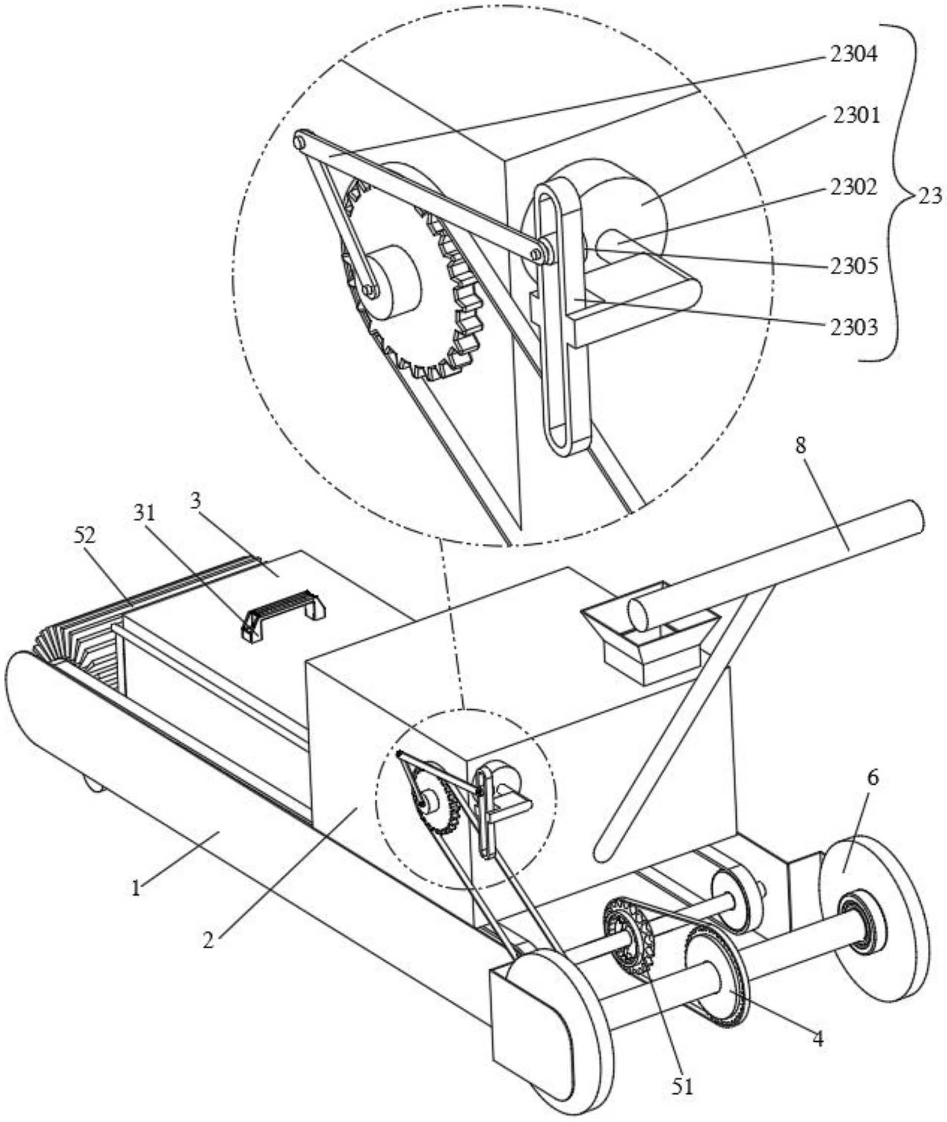
一种无动力清洁车
图片尺寸1923x2278
catia无碳小车.zip
图片尺寸1920x1048
无碳小车整张cad图纸
图片尺寸820x580
无碳小车s型数模图纸
图片尺寸750x609
8字型无碳小车设计图纸全国工程训练大赛直接加工作品sw设计
图片尺寸1115x856
无碳小车方案
图片尺寸820x615
无碳小车设计图纸
图片尺寸791x601
cn109260720a_一种s型无碳小车在审
图片尺寸1359x1122
8字型无碳小车设计图纸全国工程训练大赛直接加工作品sw设计
图片尺寸857x650
无碳小车的设计问题,望大神们多多提提建议
图片尺寸503x525