无水回流装置图

仪器与试剂 试剂:95%乙醇生石灰钠邻苯二甲酸二乙脂 仪器:回流装置一
图片尺寸893x331
回流装置(小受还在旁边搭仪器!).
图片尺寸690x924
一种无动力回流一体化污水处理装置的制作方法
图片尺寸902x1000
如果我的反应需要回流的话那要怎么接(右图)?
图片尺寸469x443
(1)将含有水蒸汽的氢气干燥后还原氧化铜,则该气体先要通过装置_.
图片尺寸485x167
1-1所示回流装置,预先通入氮气(n2)5min,将装备内的空气置换干净.
图片尺寸556x522
回流装置 蒸馏装置
图片尺寸269x191
lywgs无负压供水设备
图片尺寸1080x764
无塔供水设备构成优点
图片尺寸1121x624
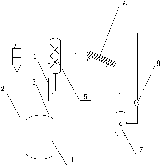
一种无动力水处理装置的制作方法
图片尺寸877x1000
五,操作方法和实验步骤仪器磁力搅拌器;球形冷凝管;回流装置;水蒸气
图片尺寸525x242
装置用于冷凝回流,在有机制备中用得比较多,比如蒸馏,有机物提纯,水与
图片尺寸481x606
树脂反应釜回流溶剂的回流系统
图片尺寸659x679
罐式无负压供水设备
图片尺寸1000x660
回流式节水装置
图片尺寸808x456
冶金浊环水净化装置的无动力污泥回流结构的制作方法
图片尺寸398x599
无负压供水设备原理图
图片尺寸500x353
无塔供水
图片尺寸1920x1348
一种下水防回流装置的制作方法
图片尺寸1000x714
一种具有多功能型的箱式无负压供水系统
图片尺寸1738x1435