无烟二次燃烧炉图纸

一种无烟燃烧的正烧炊事采暖炉的制作方法
图片尺寸952x1000
二次燃烧高效采暖炉的制作方法
图片尺寸756x1000
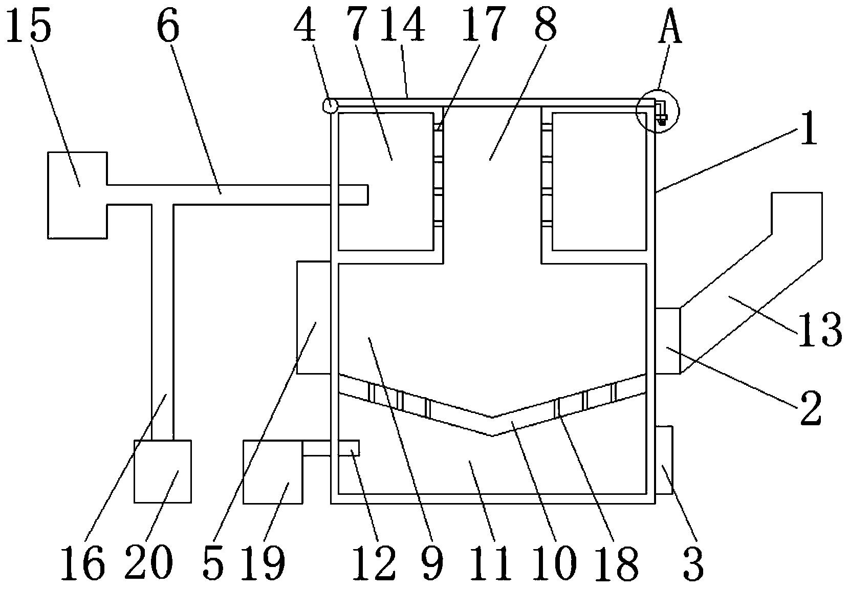
一种节能无烟炊灶锅炉:包括水套炉体,燃烧室.
图片尺寸1848x2097
燃气壁挂炉二次不燃烧是什么故障
图片尺寸1351x1468
cn113063163a_一种旋转火焰无烟柴火气化炉在审
图片尺寸1108x1607
一种无烟燃烧的正烧炊事采暖炉的制作方法
图片尺寸959x1000
一种二次燃烧炉制造技术
图片尺寸395x496
无烟排放燃烧炉的制作方法
图片尺寸1000x647
特指一种饮食业废弃物碳化炉,其包括底座,热解炉,二次燃烧炉和风机,热
图片尺寸1386x1888
一种挂式无烟烧烤炉的制作方法
图片尺寸443x417
cn2219436y_一种多用无烟燃烧炉失效
图片尺寸800x672
垃圾焚烧炉设计总图下载(3.15 mb,dwg格式) 机械cad图纸
图片尺寸861x454
一种小型无烟垃圾焚烧炉的制作方法
图片尺寸875x1000
危废焚烧系统
图片尺寸1719x617
cn1391064a_水煤汽式无烟省柴炉灶失效
图片尺寸634x709
一种能够使生物质在炉中燃烧更为充分的生物质燃烧炉-爱企查
图片尺寸1659x1151
x技术 最新专利 燃烧设备;加热装置的制造及其应用技术所述下燃烧室的
图片尺寸501x585
背景技术:现在有市场上的风暖壁炉是基于生物质颗粒的一次燃烧方式,是
图片尺寸1000x883
一种无烟燃烧的正烧炊事采暖炉的制作方法
图片尺寸998x1000
一种生物质燃料充分燃烧炉-爱企查
图片尺寸1699x1251