无簧叶片锁结构图解

一种子母弹子叶片锁芯的制作方法
图片尺寸1000x895
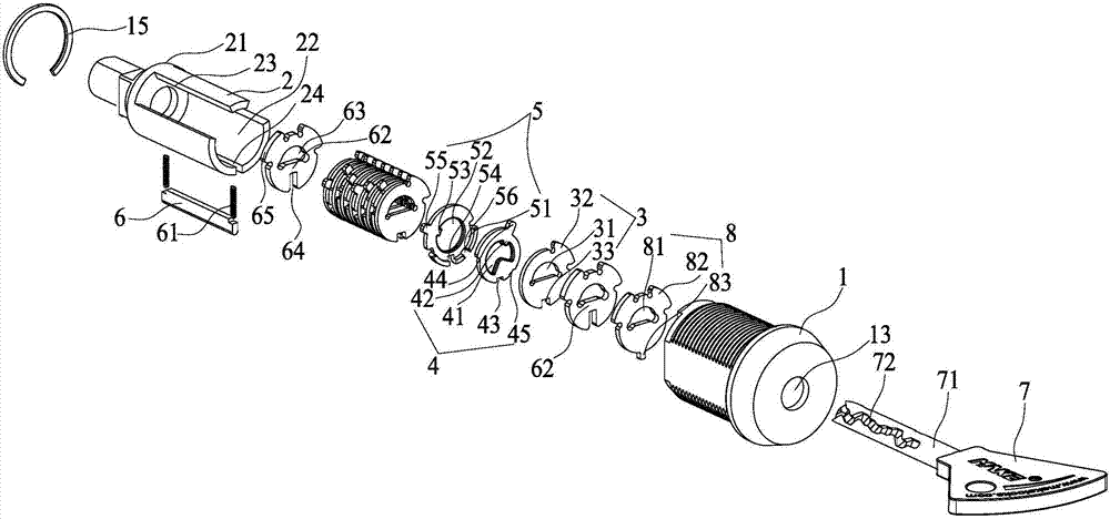
长弹簧,钢珠,弹簧和防钻钢片,所述叶片,内闩,弹簧,防钻钢片都装配到锁
图片尺寸504x512
叶片锁具制造技术
图片尺寸1000x954
c级叶片锁芯的结构原理及安全性
图片尺寸598x283
金点原子防盗门锁芯c级锁芯超b级防盗锁芯双面叶片锁芯家用通用型
图片尺寸790x1199
cn206513136u_双层无簧角度叶片锁有效
图片尺寸1000x468
防盗门锁如何构成防盗门锁的结构原理与安装步骤
图片尺寸500x343
cn201460461u_一种可置换锁芯的叶片锁失效
图片尺寸2206x1639
常见防盗门锁结构图大全
图片尺寸427x469
金点原子(goldatom)c级双面叶片空转锁芯 防盗门锁锁芯空转防盗门锁芯
图片尺寸790x649
改用全新叶片结构,可有效的防范使用专业开锁工具,进行的入室盗窃案件
图片尺寸569x417
叶片锁的制作方法
图片尺寸1000x687
玥玛锁芯防盗门玥玛锁芯多轨道防盗门锁芯c级铜叶片锁芯大门防锡纸65
图片尺寸790x921
一种改进型叶片锁芯制造技术
图片尺寸1000x584
锁芯解剖图
图片尺寸409x283
一种双灵动叶片锁芯的制作方法
图片尺寸1000x825
华为hua智选生态通用防盗门适用d级锁芯门锁老式全铜超c级盼盼通用型
图片尺寸750x763
叶片锁头的制作方法
图片尺寸811x909
汽车锁芯内部剖视图
图片尺寸800x295
非弹子式结构,原弹子式开锁技术 (万能匙/锡纸/香口糖/撞匙等) 均无
图片尺寸750x1049