无齿锯结构

供应喜利得hilti消防无齿锯dsh700x35
图片尺寸800x641
无刷7寸锂电池电圆锯手提锯手电锯木工圆盘锯无线切割机木工锯大艺款7
图片尺寸800x800
消防用混凝土切割锯 救援切割无齿锯 手提式汽油切割机厂家
图片尺寸750x1245
cn201399805y_手提式电链锯有效
图片尺寸2501x1749
威锐特电动曲线锯家用电锯多功能无尘锯拉花锯diy切割机木工工具.
图片尺寸790x1147
cn100575015c_链锯有效
图片尺寸2517x1772
国产无齿锯
图片尺寸750x750
电链锯的制作方法
图片尺寸646x738
切割机的制作方法
图片尺寸782x1000
链锯
图片尺寸1748x1211
•高精度线性导轨导向,锯切精度高 •龙门式结构,刚性好 &
图片尺寸706x587
本实用新型涉及一种链锯,尤其涉及链锯的链条张紧结构.
图片尺寸1000x571
台锯能切割槽和多种不同类型的接合部件,今天介绍台锯的基本知识
图片尺寸640x367
一种手锯
图片尺寸1417x709
厂家直销电圆锯家用手提木工电锯台锯手电锯倒装电动木工工具
图片尺寸750x686
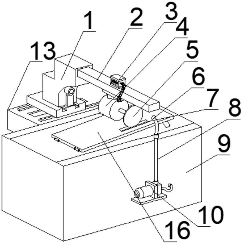
一种钢结构加工用无齿锯切割设备-爱企查
图片尺寸797x800
一种即时更换锯条的手锯
图片尺寸1417x765
链锯的制作方法
图片尺寸1000x691
链锯的制作方法
图片尺寸1000x961
cn2312090y_一种金属带锯机失效
图片尺寸924x931