晶圆支架

peek 晶圆架
图片尺寸470x352
精密注塑加工:一种用于电子半导体的 peek 晶圆支架
图片尺寸1200x796
精密注塑加工:一种用于电子半导体的 peek 晶圆支架
图片尺寸640x425
精密注塑加工:一种用于电子半导体的 peek 晶圆支架
图片尺寸640x425
适之【极客实验室】晶圆wafer芯片硅片展览架包亚克力展示支架托 8
图片尺寸350x350
极客实验室晶圆托架wafer支架芯片硅片展览架包芯片
图片尺寸2042x1479
展示晶圆支架托架亚克力透明摆件硅片样品芯片商用展示柜
图片尺寸800x800
wafer硅片晶圆展示架芯片圆形圆形物物品陈列台亚装饰摆件
图片尺寸800x800
晶圆展示支架托架亚克力透明摆件硅片芯片展示盒寸陈列架
图片尺寸800x800
定制晶圆展示支架托架亚克力透明展示架硅片样品展示盒4至12寸 12寸
图片尺寸350x350
晶圆8寸光刻片集成电路半导体硅片芯片ic中芯展会 8寸亚克力支架
图片尺寸800x800
极客实验室晶圆托架wafer支架芯片硅片展览架包芯片
图片尺寸1664x1058
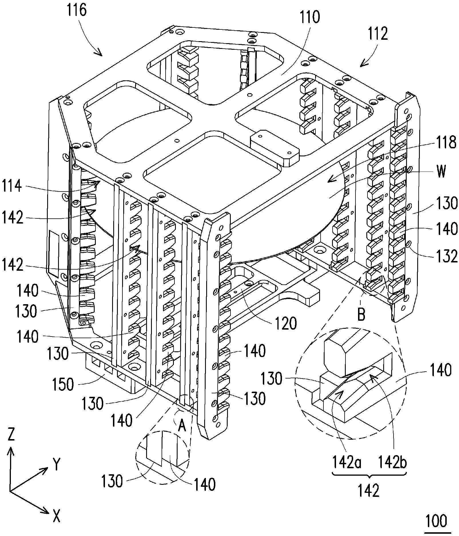
晶圆架
图片尺寸1605x1875
晶圆展示支架托架亚克力透明展示架硅片展览架 12寸晶圆展示盒全新
图片尺寸800x800
晶圆展示架圆形芯片陈列托架硅晶圆展台硅片搜藏亚克力f展示牌
图片尺寸400x400
晶圆8寸光刻片集成电路半导体硅片芯片ic中芯展会魔法龙 12寸支架
图片尺寸350x350![[草莓]水晶圆伸缩支架](https://i.ecywang.com/upload/0/t13.baidu.com/it/u=915229450,366651245&fm=224&app=112&f=JPEG?w=500&h=500)
[草莓]水晶圆伸缩支架
图片尺寸800x800
tb324724815淘宝10cm直径单晶硅晶圆雕刻片圆晶硅片送支架家居摆件
图片尺寸300x300
晶圆片图片
图片尺寸450x300
圆形斜面亚克力水晶手串透明手链托双圆手镯展示道具翡翠玉镯架子
图片尺寸800x800