晶闸管的结构图

我们将更详细地探讨晶闸管或可控硅整流器
图片尺寸991x413
图2:晶闸管结构
图片尺寸590x260
晶闸管:特性,应用与检测全解析
图片尺寸350x271
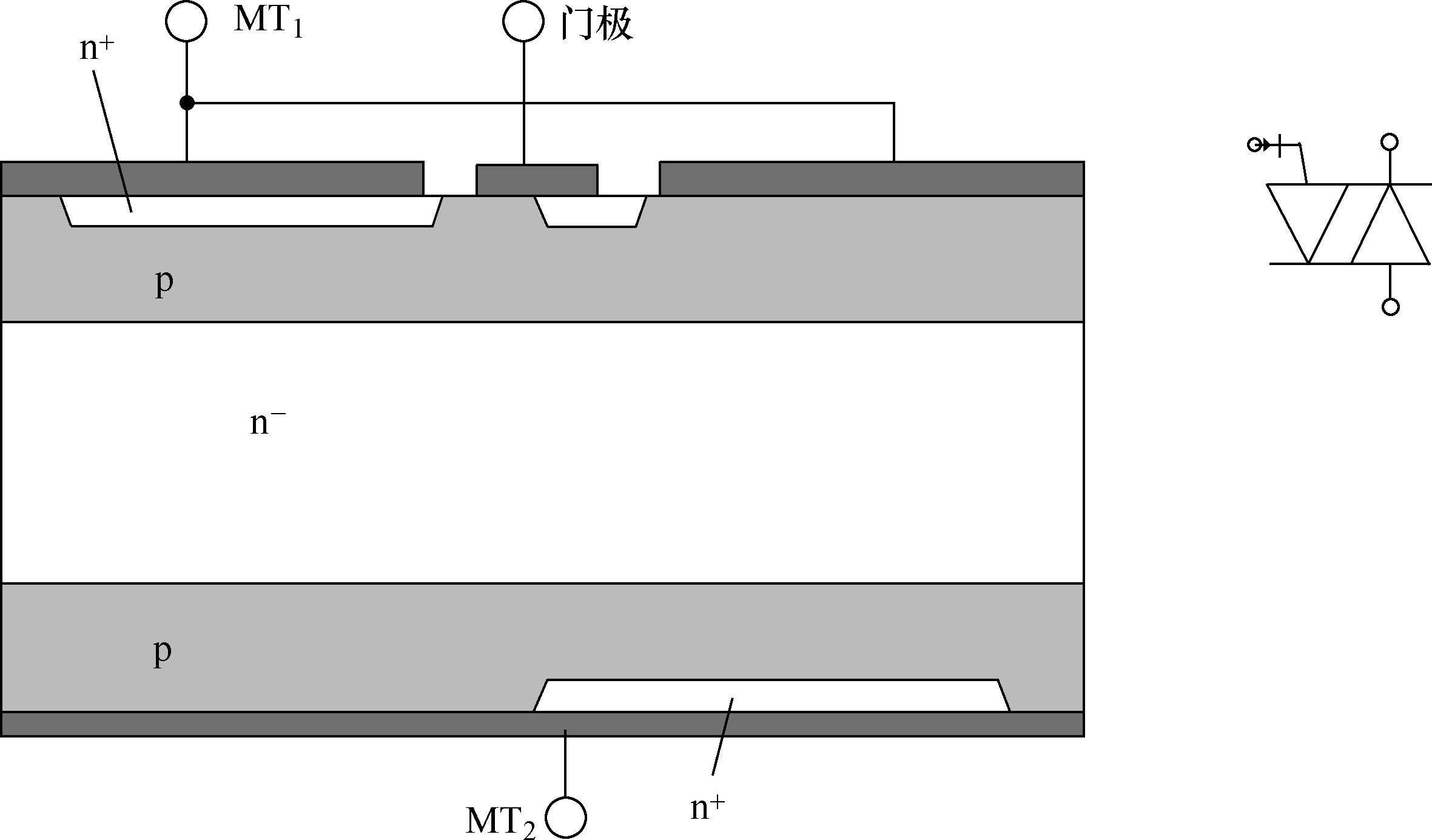
图8-1是一个晶闸管结构的简化示意图.整个器件由四层三个pn结组成
图片尺寸2701x1308
一,晶闸管的结构与工作原理
图片尺寸834x605
普通晶闸管
图片尺寸1884x1080
普通晶闸管
图片尺寸1892x1080
这些晶闸管根据前述的基本结构制成,其额定电流和di / dt 分别为100a
图片尺寸1411x2882
晶闸管电路及其应用ppt
图片尺寸1080x810
工作原理详解.可控硅
图片尺寸1080x2080
图8-1是一个晶闸管结构的简化示意图.整个器件由四层三个pn结组成
图片尺寸1362x824
图8-1是一个晶闸管结构的简化示意图.整个器件由四层三个pn结组成
图片尺寸2345x1424
这些晶闸管根据前述的基本结构制成,其额定电流和di / dt分别为100a
图片尺寸2361x1385
晶闸管结构图
图片尺寸526x617
我们常说的三极管,全名叫双极型晶体管
图片尺寸1920x1871
图8-1是一个晶闸管结构的简化示意图.整个器件由四层三个pn结组成
图片尺寸1814x508
晶闸管即可控硅的工作原理
图片尺寸1440x2752
什么是晶闸管,简述晶闸管的工作原理
图片尺寸461x271
这些晶闸管根据前述的基本结构制成,其额定电流和di / dt分别为100a
图片尺寸1847x1656
一,结构与工作原理 晶闸管是三端四层半导体开关器件,共有3个pn结,j1
图片尺寸500x259