智能花盆logo设计

智能花盆图标轮廓风格
图片尺寸1100x1153
摘要附图摘要1.本外观设计产品的名称智能花盆.2.
图片尺寸374x829
智能花盆图标集
图片尺寸1119x1100
摘要附图摘要1.本外观设计产品的名称:智能花盆.2.
图片尺寸655x1115
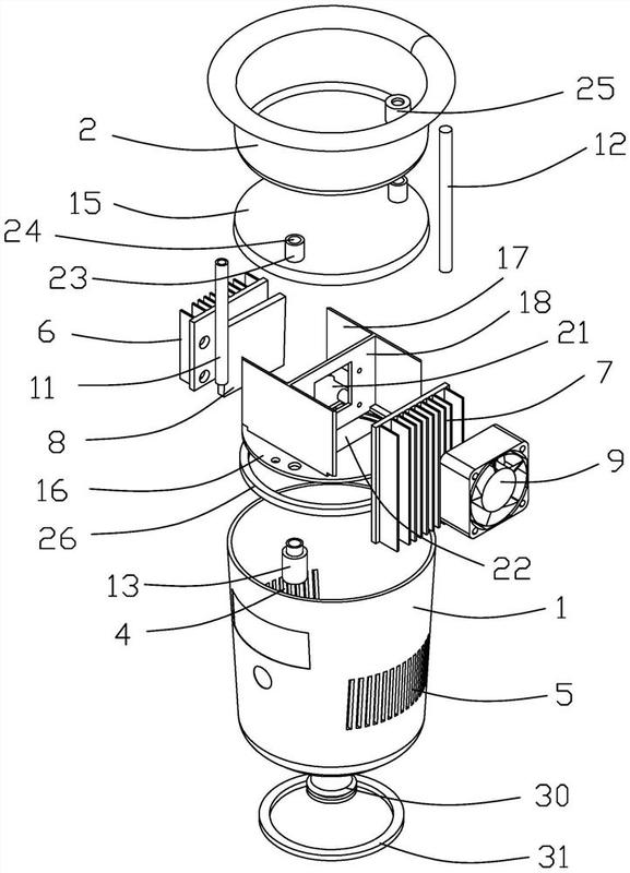
摘要附图摘要1.外观设计产品的名称:智能花盆.2.
图片尺寸690x1048
一种新型智能花盆-爱企查
图片尺寸518x451
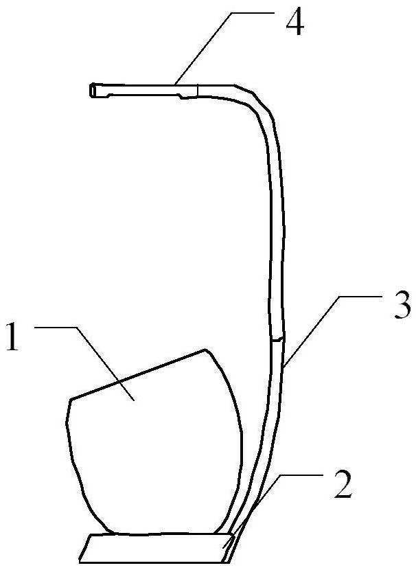
摘要附图摘要1.本外观设计产品的名称:智能花盆. 2.
图片尺寸664x799
ai怎么画一个智能花盆图标
图片尺寸557x469
一种智能花盆-爱企查
图片尺寸606x830
摘要附图摘要1.本外观设计产品的名称:智能花盆(2).
图片尺寸663x515
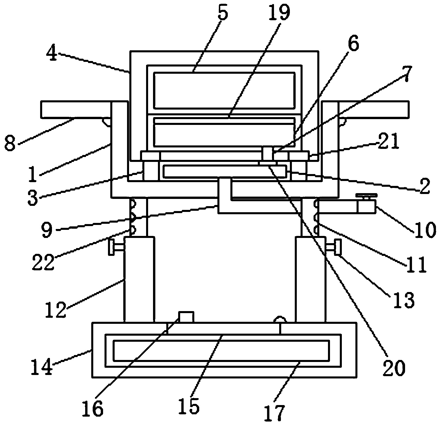
摘要附图摘要1.本外观设计产品的名称:智能花盆(二代).2.
图片尺寸894x903
智能花盆-爱企查
图片尺寸800x787
一种智能花盆-爱企查
图片尺寸577x800
一种智能花盆及其浇花方法-爱企查
图片尺寸939x959
植语盆栽logo
图片尺寸1240x1754
教你一招丨不同的植物,该怎么选土壤?
图片尺寸651x504
空气加湿型智能花盆-爱企查
图片尺寸1100x1326
一种人工智能花盆-爱企查
图片尺寸1300x1300
一种室外雨水收集的智能花盆-爱企查
图片尺寸1524x1470
基于传感器探测的智能花盆-爱企查
图片尺寸1807x1018