智能音箱手绘图

蓝牙,手绘,红,智能音箱
图片尺寸2520x1575
一种智能机器人音箱的制作方法
图片尺寸490x1000
凡是绘原创信息交互数媒考研手绘智能音箱
图片尺寸873x655
2015产品设计手绘1-2月 一日一画
图片尺寸1280x905
一种酒店客房用智能控制音箱
图片尺寸1711x1271
智能蓝牙音箱
图片尺寸1126x1030
智能音箱(4)_cn201930613433.8_知雀网
图片尺寸1389x1680
智能音箱
图片尺寸1535x2133
户外蓝牙音响
图片尺寸1180x858
智能云音箱(a7)
图片尺寸1456x1065
蜂巢智能音箱as182
图片尺寸981x1424
cn306216849s_智能音箱有效
图片尺寸934x2078
一种智能家用音箱
图片尺寸1451x1568
蓝牙音箱
图片尺寸1636x1467
智能音箱
图片尺寸821x1370
cn305222057s_智能音箱(a5)有效
图片尺寸483x971
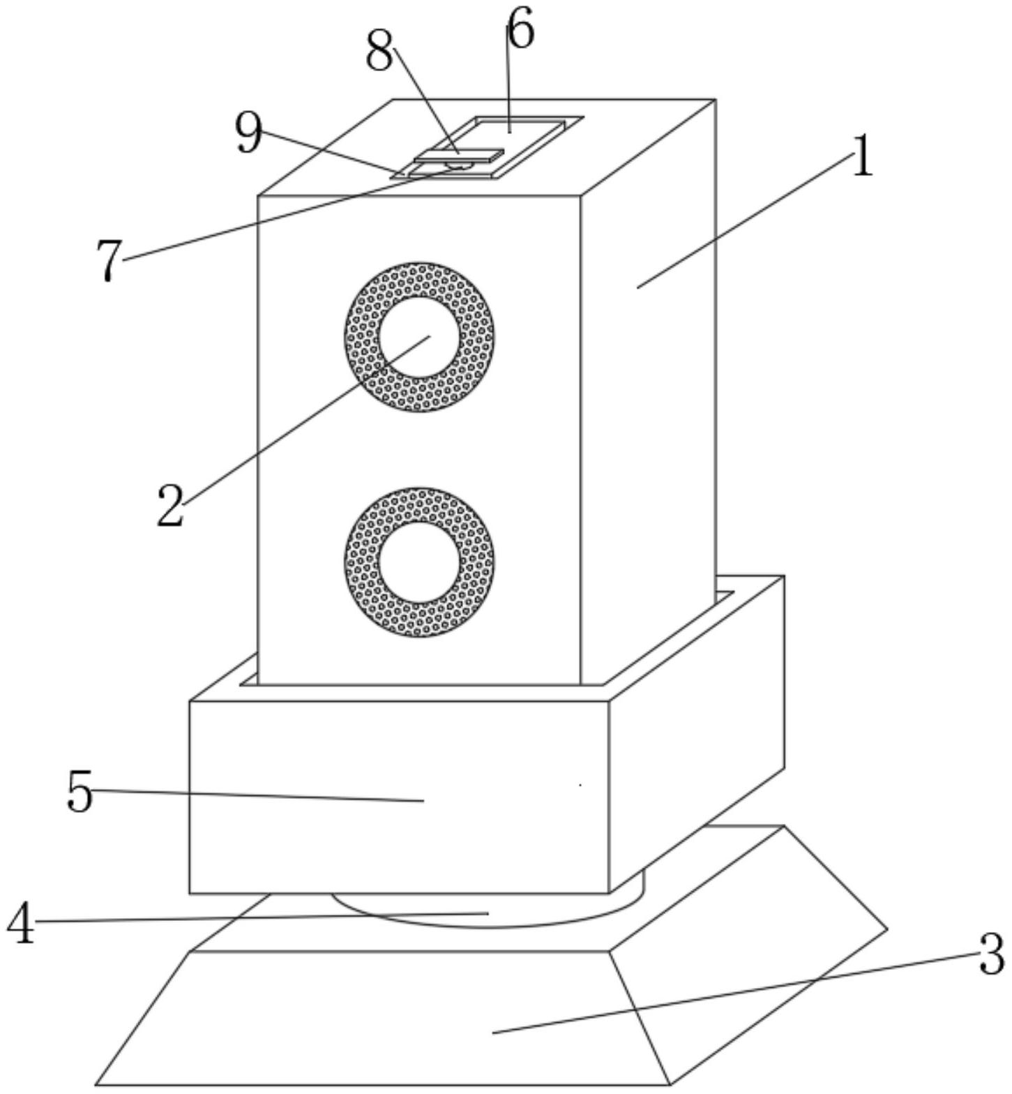
一种智能音箱的制作方法
图片尺寸905x1000
智能音箱小biu
图片尺寸478x967
智能收款音箱
图片尺寸1155x1330
蓝牙音箱hopestarh37
图片尺寸1250x903