智能马桶简笔画

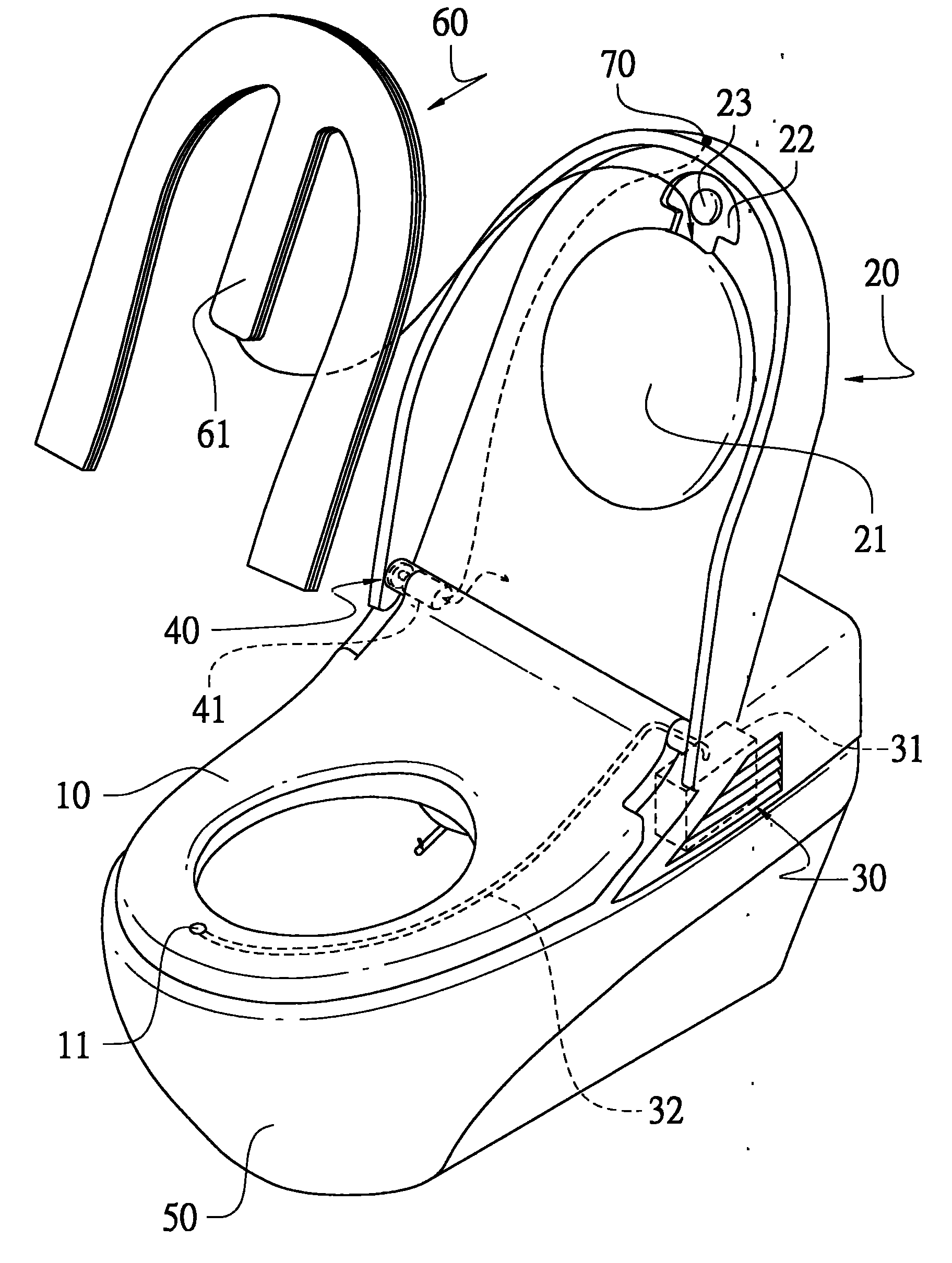
一种智能座便器,它包括:一马桶座垫,该马桶座垫于表面具有一吸纸嘴;一
图片尺寸1824x2420
马桶简笔画 马桶简笔画怎么画
图片尺寸600x600
智能马桶(弧切款)-爱企查
图片尺寸352x354
cn212213620u_一种一体化纸盒的智能马桶有效
图片尺寸1839x1871
马桶简笔画 马桶简笔画怎么画
图片尺寸576x711
马桶的简笔画
图片尺寸500x490
一种自动翻盖的智能马桶-爱企查
图片尺寸1234x1045
马桶简笔画教程
图片尺寸900x600
马桶简笔画步骤教程
图片尺寸900x600
红色马桶简笔画
图片尺寸900x600
一种用于微量元素检测的智能马桶
图片尺寸1666x1812
马桶简笔画 马桶简笔画怎么画
图片尺寸621x575
一种带薄壁透光显示屏智能马桶的制作方法
图片尺寸443x443
马桶怎么画简笔画马桶怎么画简笔画图片
图片尺寸397x500
手工/爱好 > 书画/音乐end
图片尺寸485x489
马桶简笔画教程
图片尺寸900x600
马桶简笔画如何画
图片尺寸900x600
一种新型移动式智能马桶的制作方法
图片尺寸441x443
马桶的简笔画 马桶的简笔画怎么画
图片尺寸500x590
马桶简笔画 马桶简笔画怎么画
图片尺寸700x700