暗锁结构

防盗门锁如何构成防盗门锁的结构原理与安装步骤
图片尺寸500x343
拉式门窗暗锁-爱企查
图片尺寸1856x1373
拉环锁不锈钢隐形暗藏式门锁移门锁卧室内门锁暗锁辅助锁闭锁呆锁
图片尺寸790x1019
谁知道这种锁的内部构造?有图最好.和一般的弹子锁有什么区别?
图片尺寸600x306
锁体结构图
图片尺寸529x563
图解:弹珠锁,挂锁的工作原理是怎么运转的?
图片尺寸412x406
室内隐形门背景墙门锁单面暗锁 现代美式田园金色把手 黑色通道锁
图片尺寸790x1546
艾创米:揭露指纹锁到底是由哪些部件组成的?
图片尺寸1440x974
常见防盗门锁结构图大全
图片尺寸569x417
hd-60303不锈钢指示锁 结构图
图片尺寸670x436
汇泰龙-hz-69002 智睿 指纹密码锁
图片尺寸660x552
现代款房门锁分体锁可爱蛋形把手pvd金色手感超好黑色球形门锁
图片尺寸790x486
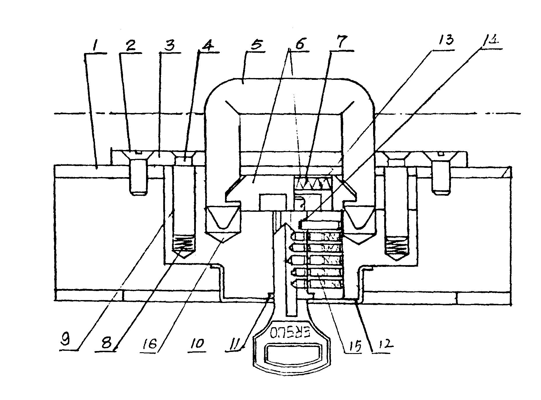
一种新型拉环暗锁结构的制作方法
图片尺寸443x333
福满门供应锌合金欧款k92sb-b移门锁推拉门锁厨房卫生间门锁钩锁
图片尺寸1920x1194
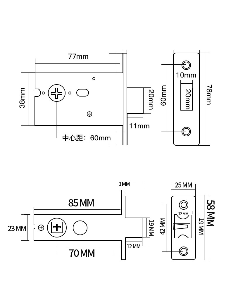
特价换锁小50锁体大50锁体执手室内卧室房间门锁体铜锁体轴承锁体
图片尺寸750x1232
观察:关于智能锁的那些事儿
图片尺寸585x451
小区整栋楼的门锁被撬,不换智能锁过年都不安心
图片尺寸790x750
cn202990624u_用于家居的防盗锁装置有效
图片尺寸1000x904
本商铺经营一下产品:各种分体锁,室内门锁等锁具,各
图片尺寸750x629
cn201605879u_嵌入式门锁有效
图片尺寸1908x2584