曝气头安装图

曝气头曝气机
图片尺寸552x365
赵县污水处理厂曝气头安装工程
图片尺寸600x450
北京微孔曝气器厂家 专业制作安装曝气头曝气管及水处理填料
图片尺寸690x430
厂家直销 微孔膜片式曝气器 管式散流式曝气器污水处理增氧效率高
图片尺寸700x517
管式曝气器
图片尺寸680x452
乐山曝气头
图片尺寸750x600
可提升旋流式曝气器含抱箍曝气筒ohr式蘑菇状切割tc2000c型侧式安装
图片尺寸750x958
好氧池盘式曝气器215mm曝气盘膜片微孔曝气器曝气头
图片尺寸750x401
曝气头的介绍
图片尺寸670x502
好氧反应池曝气器装置平面布置图设计安装调试
图片尺寸800x607
微孔曝气盘的安装步骤和调试过程
图片尺寸640x336
曝气头安装细节.jpg
图片尺寸670x502
榆林宁煤沉淀池斜管安装许昌屠宰废水处理膜片式曝气头施工新郑南水北
图片尺寸600x400
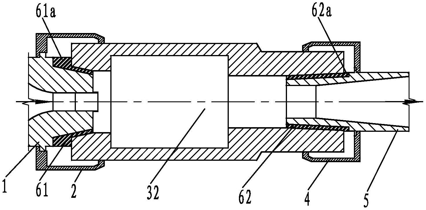
cn100537451c_雾状微泡气体射流曝气头失效
图片尺寸1922x1042
陶瓷刚玉曝气器
图片尺寸500x268
微孔曝气头膜片盘式微孔曝气器进口膜片盘式曝气器
图片尺寸1080x1440
美国ssi微孔曝气器品牌afd270盘式微孔曝气器膜片式微孔曝气头生化池
图片尺寸862x1920
一种微纳米气泡发生器用的曝气头
图片尺寸1471x725
供应管式曝气器,曝气软管,曝气头,微孔曝气器
图片尺寸603x278
曝气头管道制作加工
图片尺寸1224x1632