曲轴图片简图

曲轴结构
图片尺寸621x347
冷挤压成型178f柴油机曲轴毛坯
图片尺寸1896x1087
一种双缸发动机用曲轴
图片尺寸1752x1296
曲轴结构
图片尺寸596x323
曲轴结构(曲轴结构图简图)曲轴结构
图片尺寸667x500
曲轴pdf
图片尺寸800x566
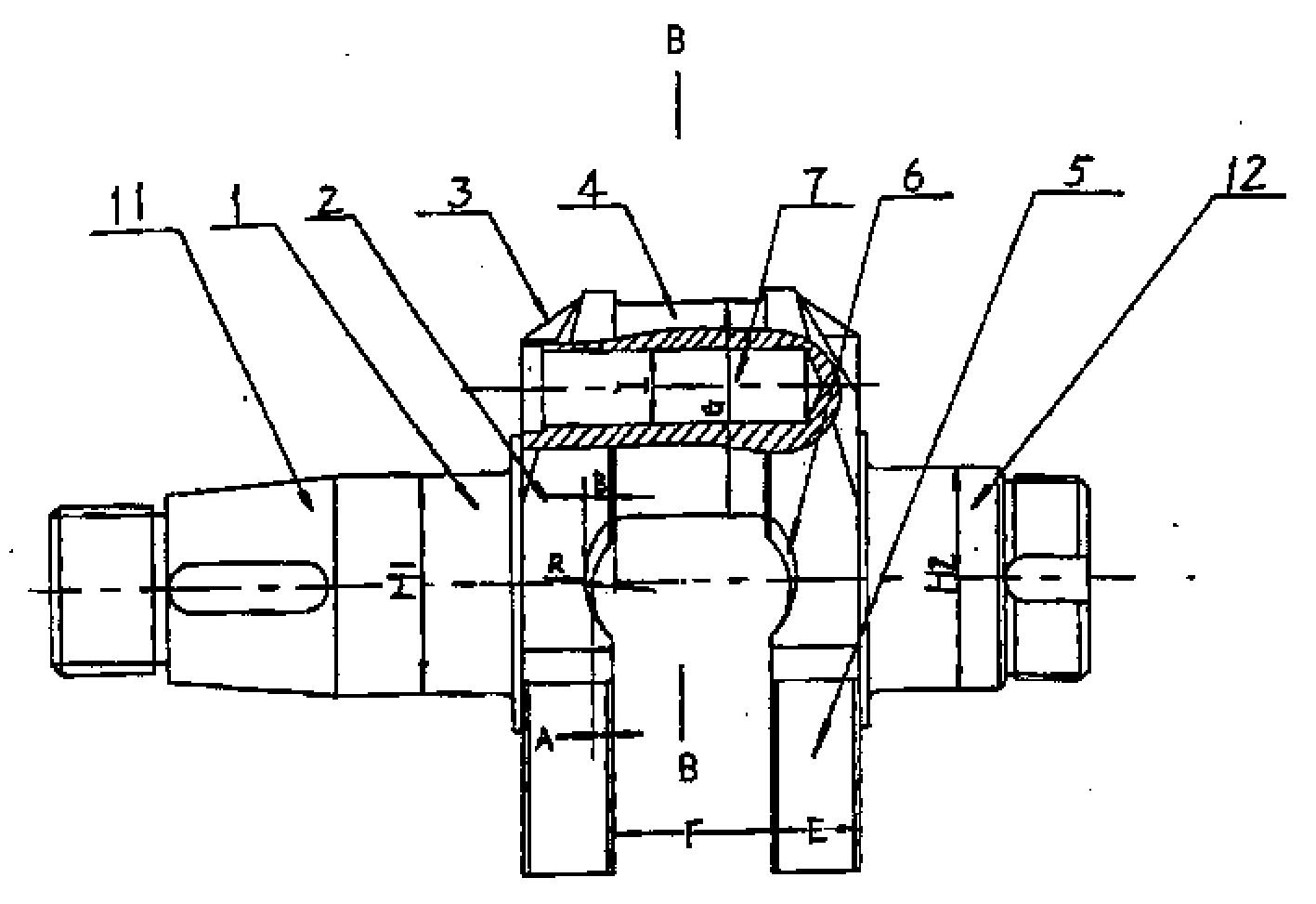
曲轴
图片尺寸2500x2570
曲轴
图片尺寸359x304
柴油机曲轴
图片尺寸1417x973
图片尺寸2100x1689
图纸来了:曲轴.#技术分享 #图纸
图片尺寸1438x2036
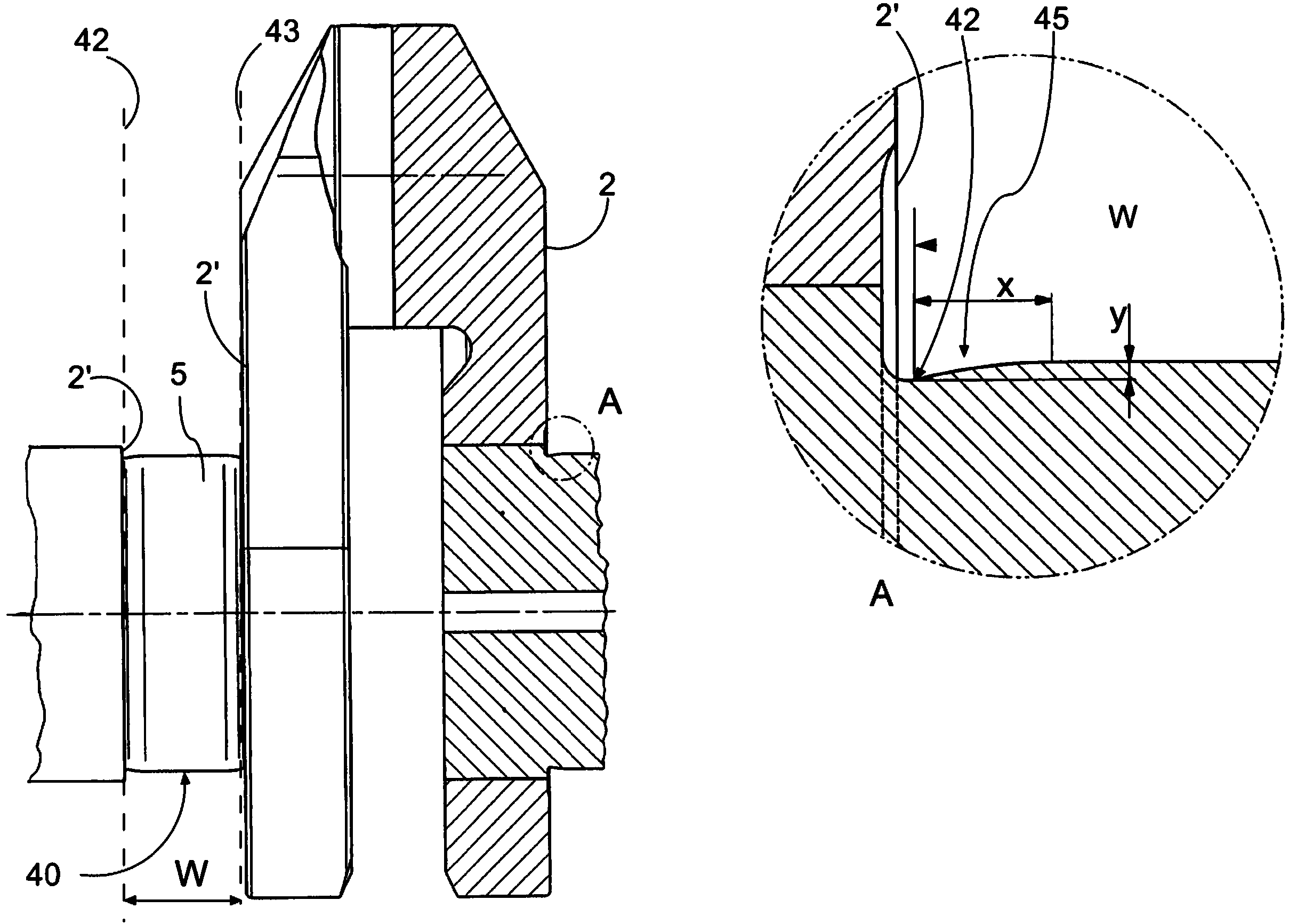
一种防止抖动的柴油机四缸曲轴
图片尺寸1943x1129
一种长冲程压裂泵专用曲轴
图片尺寸2225x1115
曲轴结构(曲轴结构图简图)曲轴结构
图片尺寸600x375
曲轴结构
图片尺寸529x348
一种曲轴的制作方法
图片尺寸1000x773
发动机曲轴的检测
图片尺寸748x506
带活塞外形的发动机曲轴.向量
图片尺寸612x561
发动机曲轴,发动机曲柄连杆机构,发动机及模型车的制作方法
图片尺寸1000x887
曲轴,轴承组件以及大型多缸体二冲程柴油机
图片尺寸2418x1733