曲轴曲柄臂

曲柄臂
图片尺寸704x411
内燃机车柴油机曲轴曲柄臂简介
图片尺寸1440x812
crank web曲柄臂2.5.8曲轴上安装有一个或数个连杆大头的部分.
图片尺寸687x246
产生裂纹断裂部位大部分出现在头缸或末缸连杆轴颈圆角处与曲柄臂联结
图片尺寸754x304
曲柄臂
图片尺寸1024x577
发动机设计课程ppt ③ 平衡重连接方式:铸造曲轴平衡重一般与曲柄臂铸
图片尺寸1080x810
bafang 曲柄臂 170毫米电动自行车曲柄中间马达曲柄基本零件中间马达
图片尺寸800x1000
技术支持 >> 柴油发电机组曲轴的构造 曲柄臂的作用是连接主轴颈与
图片尺寸824x692
一个曲柄销,左右两个曲柄臂和左右两个主轴颈构成一个单元曲拐.
图片尺寸800x568
曲轴结构
图片尺寸596x323
活塞曲轴
图片尺寸1100x1100
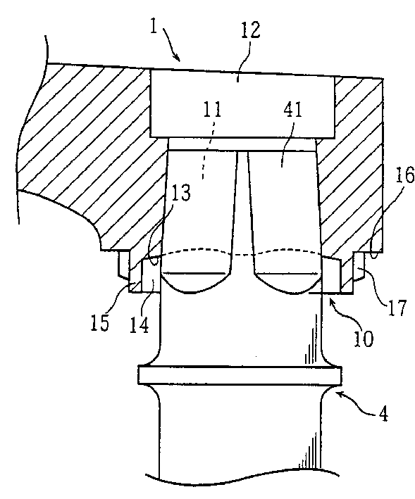
一种自行车用曲柄臂(a),具有安装在自行车曲轴(4)上的基端部,中间臂部
图片尺寸589x709
曲柄轴 -曲轴-莫西图纸
图片尺寸704x469
曲柄连杆机构的组成曲柄连杆机构由连杆活塞组,曲轴飞轮组,汽缸缸体
图片尺寸280x192
是对原曲轴的曲柄销轴颈a,曲柄销宽度b,曲柄臂开档距离c,曲柄臂厚度d
图片尺寸291x360
减小质量及离心力;为了减少应力集中,主轴颈,曲柄销与曲柄臂连接处
图片尺寸600x618
二,曲柄臂(简称曲柄)曲柄臂的作用是连接主轴颈与连杆轴颈,通常制成
图片尺寸800x478
曲柄连杆机构,知识介绍
图片尺寸365x300
cn207795823u_曲轴曲柄臂有效
图片尺寸360x456
协助轮椅曲柄臂的概念
图片尺寸1400x788