更换闸阀阀芯图解

拆个混合龙头阀芯
图片尺寸620x1041
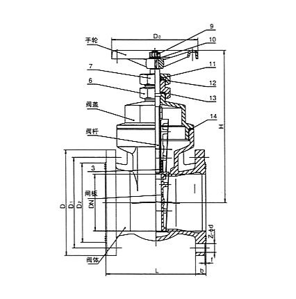
闸阀结构图
图片尺寸550x577
下面的冷热水龙头换阀芯,怎么换? - 知乎
图片尺寸759x633
闸阀结构图
图片尺寸496x333
水龙头阀芯修理技巧是什么?
图片尺寸400x398
铸铁明杆闸阀
图片尺寸327x396
闸阀结构图闸阀工作原理
图片尺寸304x250
闸阀的结构特点
图片尺寸801x676
阐述一下闸阀的工作原理
图片尺寸520x352
闸阀结构图
图片尺寸550x600
手动闸阀结构图
图片尺寸600x400
铸铁内螺纹闸阀|丝口闸阀|丝扣闸阀
图片尺寸272x307
汕尾铸铁闸阀,广州精工阀门,铸铁闸阀价格
图片尺寸550x650
闸阀使用说明书_解决方案
图片尺寸361x444
暗杆软密封闸阀,ghz45x闸阀
图片尺寸631x239
中丝扣闸阀 z45t-16 暗杆闸阀 铸铁闸阀 闸阀 品质可靠 厂家直销
图片尺寸426x430
闸阀结构解剖图
图片尺寸580x565
闸阀工作原理及检修工艺要求培训试题
图片尺寸703x938
z45x,rvcx弹性座封暗杠闸阀
图片尺寸277x448
闸阀结构图及原理(图)德国莱克阀门
图片尺寸419x270