曾威斌

阳春白雪有知音——访广东省阳春市市长曾威斌
图片尺寸1403x1980
安远县纪检监察干部业务培训班开班啦
图片尺寸1080x810
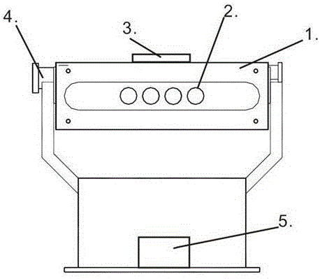
中光强航空障碍灯(a型-方形底座)
图片尺寸397x278
2019-08-13 申请(专利权)人:广东玖洲机场建设有限公司 发明人:曾威斌
图片尺寸382x279
cn208268890u_一种防雷航空障碍灯有效
图片尺寸286x405
cn208269103u_一种无缝外壳航空障碍灯有效
图片尺寸325x429
cn109630932a_一种新型角度可自动调节高光强航空障碍灯
图片尺寸458x399
cn208270133u_一种具有压力检测系统的新型机场灯光设备有效
图片尺寸243x314
cn209684020u_一种多机位防相撞直升机场有效
图片尺寸553x405
2019-08-13 申请(专利权)人:广东玖洲机场建设有限公司 发明人:曾威斌
图片尺寸382x377
2019-08-13 申请(专利权)人:广东玖洲机场建设有限公司 发明人:曾威斌
图片尺寸334x306
日:2019-08-13申请人:广东玖洲机场建设有限公司发明人:曾威斌摘要:1
图片尺寸382x231