最稳固的结构

钢结构加工中的钢柱加固方法,让你的使用更稳定
图片尺寸640x960
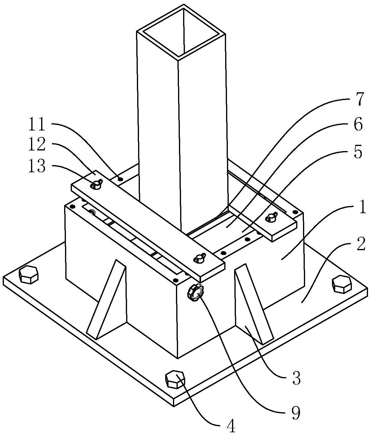
一种钢结构工程的支撑稳固结构-爱企查
图片尺寸1244x1457
稳固结构的探析
图片尺寸800x600
图3,fpybr在ag表面的最稳定结构
图片尺寸640x640
钢结构拉条——稳固建筑结构的秘密武器
图片尺寸640x960
既然三角形是世界上最稳固的结构,为什么建筑不都做成金字塔的样子呢?
图片尺寸458x330
稳固结构的探析
图片尺寸800x600
既然三角形是世界上最稳固的结构,为什么建筑不都做成金字塔的样子呢?
图片尺寸3508x2480
高中通用技术:1.2稳固结构的探析(33张幻灯片)
图片尺寸720x540
稳固结构的探析ppt课件
图片尺寸920x637
cn211619768u_一种稳固的组合式炼钢厂用钢梁结构
图片尺寸553x437
2013稳固结构1ppt
图片尺寸1170x810
cn212141429u_一种结构稳固耐磨的三阶磁力魔方有效
图片尺寸1926x1607
稳固结构探析2.
图片尺寸1080x810
cn213062519u_一种用于镂空花墙的稳固结构
图片尺寸1993x1666
makerlab桥梁结构三角形稳定性
图片尺寸1005x567
一种塔吊标准节的稳固结构的制作方法
图片尺寸444x394
12稳固结构的探析课件17ppt20212022学年高中通用技术苏教版2019必修
图片尺寸860x484
既然三角形是世界上最稳固的结构,为什么建筑不都做成金字塔的样子呢?
图片尺寸3508x2480
稳固结构的探析
图片尺寸720x540