月牙锁图解

月牙锁怎么开和区分左右真的安全吗
图片尺寸640x512
厂家直销不锈钢大龙山月牙锁 铝合金门窗月牙锁锌合金门窗勾锁
图片尺寸1614x1920
月牙锁品种齐全价格优美 - 抖音
图片尺寸671x800
月牙挂锁宿舍家用大门户外仓库货车车厢挂锁防盗锁通开挂锁 274d 【6
图片尺寸745x1186
月牙锁原理
图片尺寸750x660
一种月牙锁
图片尺寸1646x2117
蒙莱奇828铝合金门窗月牙锁窗户把手推拉窗锁窗户锁扣钩锁月牙锁塑钢
图片尺寸750x1060
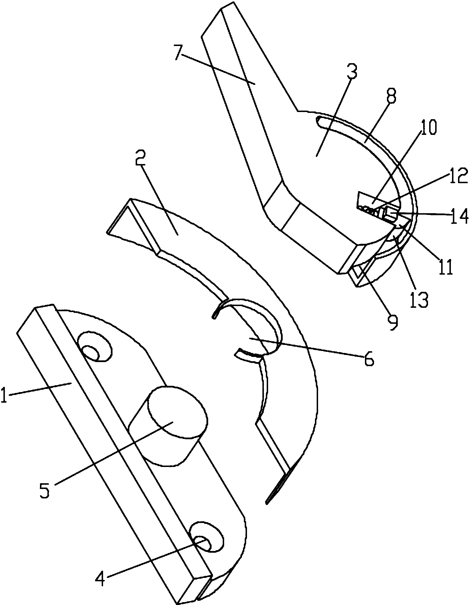
一种具有防误撞功能的月牙锁的制作方法
图片尺寸1000x973
蒙莱奇老式铝合金窗月牙锁小双向钩锁防盗锁推拉移门窗户锁扣360度
图片尺寸750x1028
球型锁球形锁室内卧室房门锁老式木门圆形锁卫生间球锁家用通用型月牙
图片尺寸790x557
安得福 薄幸卷帘门锁 月牙锁芯 电脑锁芯 卷闸门锁具配件 .
图片尺寸750x492
炼出火眼金睛,教你识别a级,b级,c级锁芯
图片尺寸550x510
防盗锁门锁入户门防盗锁门锁入户门月牙锁芯铜锁芯防盗门家用大门锁芯
图片尺寸620x454
室内门锁 欧式门锁室内卧室卫生间木门防盗锁具把手 招财进宝银色
图片尺寸750x953
名门静音门锁室内卧室房间欧式黑色门锁带钥匙实木门简约家用锁具默认
图片尺寸790x1172
铝合金窗不锈钢小钩盘月牙锁塑钢门窗锁钩锁平移推拉窗户锁扣配件
图片尺寸750x960
月牙保险锁的制作方法与工艺
图片尺寸1000x572
蒙莱奇90保险月牙锁老式90铝合金窗月牙锁塑钢推拉窗户锁扣不锈钢月牙
图片尺寸750x598
蒙莱奇龙山月牙锁铝合金门窗月牙锁老式推拉窗栓扣搭移动门窗钩锁单层
图片尺寸750x971
不锈钢窗锁塑钢窗锁扣平移铝合金门窗月牙锁移门窗户钩锁推拉配件
图片尺寸750x647