服装拉筒制作图纸

拉筒结构及缝纫机的制作方法
图片尺寸443x283
一种高品质服装的双层门巾拉筒装置制造方法及图纸
图片尺寸450x318
包边拉筒安装
图片尺寸1080x540
第一次制版倒大袖 第一次平车拉筒包边 第一次 一字扣 不能太看 准备
图片尺寸1080x568
拉筒图纸 - 美篇
图片尺寸2000x2666
主营产品:服装加工设备零部件;压脚;针板;拉筒所在地:湖州市南浔区
图片尺寸750x750
剪线机吸线头全自动剪线毛机 厚薄料服装自动感应电动剪线头机器
图片尺寸800x800
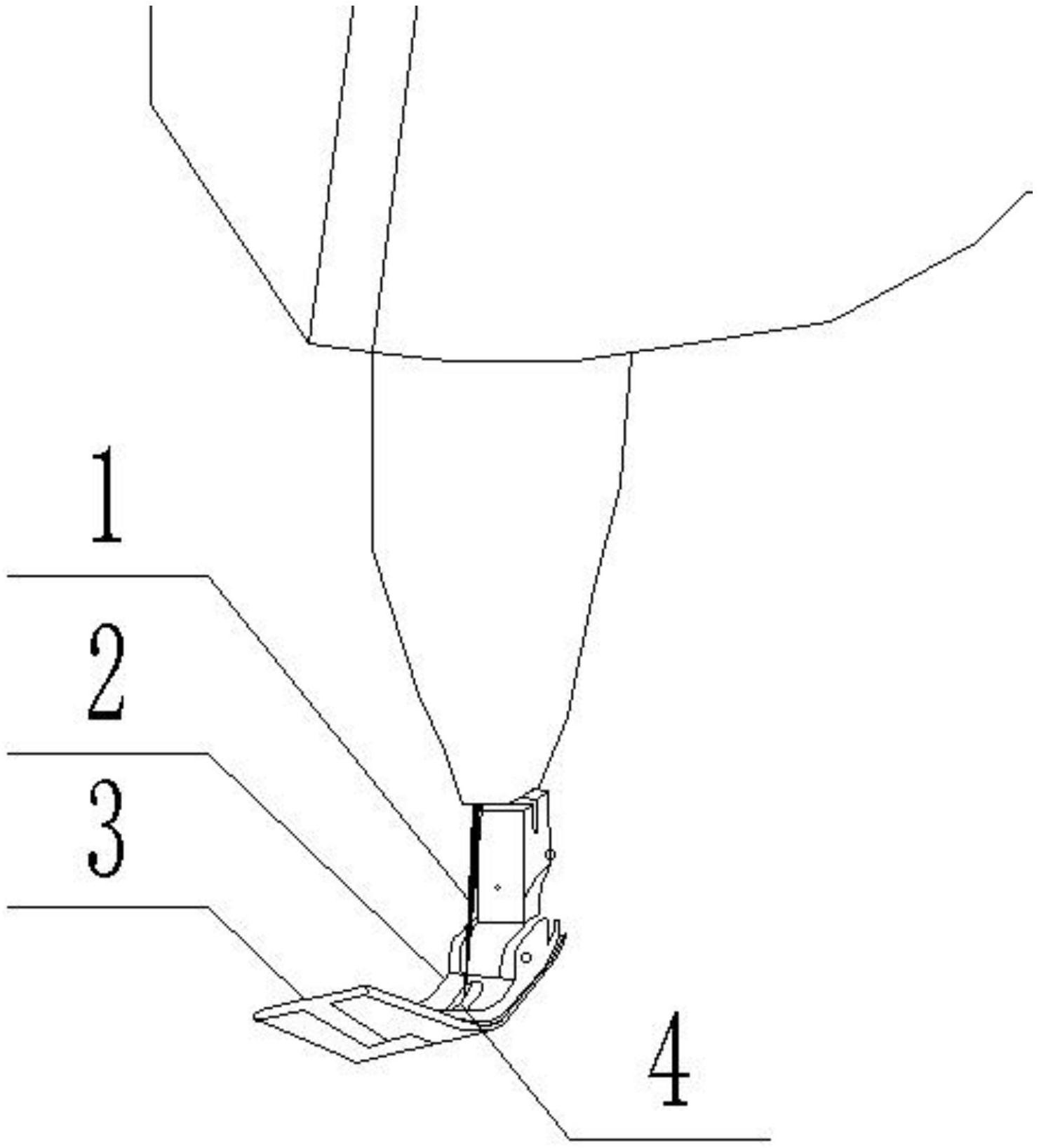
了一种暗门襟简便定位装置,包括通过固定座固定在工作台上的定位拉筒
图片尺寸1481x1637
服装工艺_中英文_图解_之_-_包边_镶边_嵌边_折光边_还口_卷边
图片尺寸814x378
一种家纺用搭压橡筋自动调节弹性比的拉筒-爱企查
图片尺寸486x334
上袖口拉筒 制衣厂 车间实拍 缝纫日常 服装行业
图片尺寸720x1280
服装工艺 中英文 图解 之 - 包边,镶边,嵌边,折光边,还口,卷边
图片尺寸893x224
【辅助工具】绣花压脚,定规,包边拉筒.
图片尺寸600x631
缝纫机卷边器 拉筒 包边器-「服装机械配件」-马可波罗网
图片尺寸1600x1200
拉筒下摆a11平车无挡卷边底边窗帘包边器衬衫缝纫机配件
图片尺寸960x960
缝纫机同步车 平车双层布合缝筒右对齐拼缝拉筒毛边拼缝拉筒
图片尺寸800x800
上下毛边拼缝拉花边拉筒缝纫diy工具套装
图片尺寸1080x1080
定制电动小型抽条机压合机皮革拉筒手摇双面贴合机拉出胶水筒机器手摇
图片尺寸750x1299
电脑平车四折拉筒缝纫机环口卷边拉筒包边器 对折双包拉筒
图片尺寸800x800
dayu102绷缝车直角包边筒插冚双折可调包边器工业缝纫机拉筒
图片尺寸750x750