木工圆盘锯机

木工机械推台摆角圆盘锯.#木工机械推台摆角圆盘锯 #圆锯机 - 抖音
图片尺寸1920x1920
7寸锂电电圆锯 家用木材木工锯切割机 手提锯 圆盘锯充电电锯批发
图片尺寸360x360
makita牧田电圆锯5103r 日本品牌木工圆盘锯 270mm手提圆锯
图片尺寸360x360
木工机械圆锯机 推台摆角圆盘锯简易开料锯.#木工机械圆锯机# - 抖音
图片尺寸1440x1920
安徽杰豪木工机械今日推荐短料圆锯机#安徽杰豪木工机械 #木工 - 抖音
图片尺寸1920x1440
450型木工台锯 圆盘锯 锯木机
图片尺寸800x800
东成20v充电电圆锯6寸切割机木工锯圆盘锯手提锯锂电电锯东城圆锯
图片尺寸1920x1920
木工圆盘锯机-爱企查
图片尺寸945x831
美克拉(meikela)无刷电圆锯5寸木工锂电池圆盘锯家用手提电锯切割机多
图片尺寸350x350
mj104a型木工圆锯机
图片尺寸1181x1181
科麦斯(kemaisi)家用多功能电圆锯手提木工倒装电锯圆盘锯台锯切割机7
图片尺寸800x800
圆锯机 木工电圆锯 多功能木工圆锯机 路平机械
图片尺寸750x750
普力捷7寸8寸9寸家用手提木工锯电圆锯倒装电动台锯圆盘锯切割机
图片尺寸800x800
木工台锯建筑装修裁板锯便携式电动木工圆锯机
图片尺寸800x800
木工推台锯开切割机圆盘锯送锯片多功能电动圆锯台锯
图片尺寸800x800
纽威达牌mj108木工圆锯机铜芯木工圆锯机出售电圆锯圆盘锯推台锯
图片尺寸750x750
奇磨kimo电圆锯切割机多功能锂电手提电锯圆盘锯木工锯石材切割机
图片尺寸1920x1920
手动进料木工圆锯机 木工圆盘锯 木材台锯切割机 木工圆锯机mj108
图片尺寸750x750
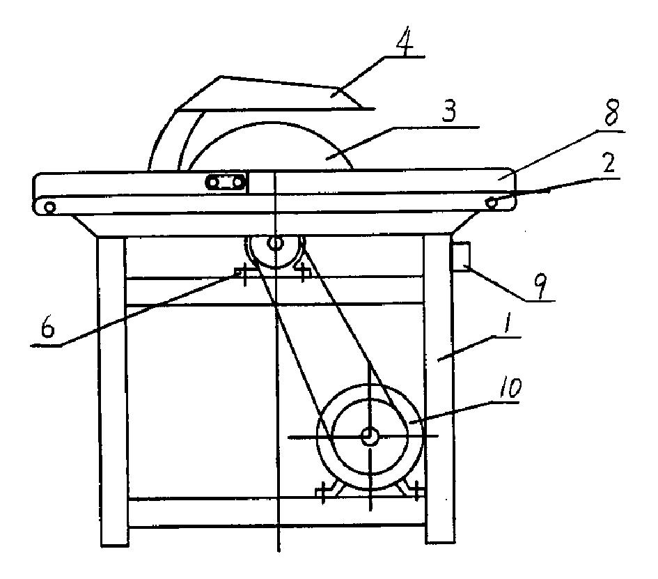
5 升降圆盘锯-上海容安木工机械有限公司
图片尺寸1024x703
圆盘锯轴木工
图片尺寸700x453