机器人cad图纸

智能制造时代下工业机器人在卫浴行业能做什么
图片尺寸583x637
一种自动搬运智能机器人及垃圾分类处理方法
图片尺寸1256x1435
搬运码垛机器人之发展趋势
图片尺寸5039x3369
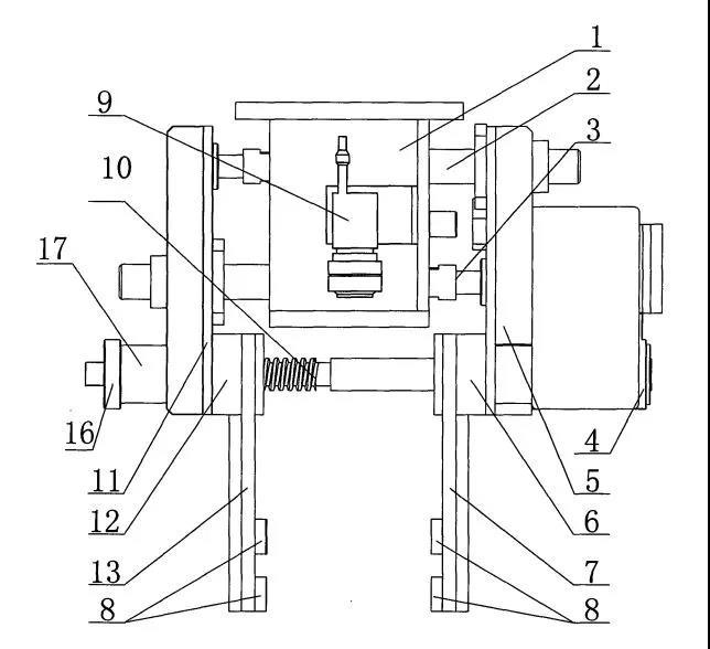
这里给大家分享几张从迅捷cad图库扒下来的各类机械设备图纸素材的
图片尺寸1002x712
石头扫地机器人常见故障汇总及解决办法
图片尺寸640x730
四轮机器人的驱动机构和运动
图片尺寸601x403
发那科机器人的构成有哪些
图片尺寸664x580
看fanuc机器人在重力浇铸行业,都是又累又重的活儿啊!
图片尺寸826x389
安川机器人motomangp25型号说明及功能介绍
图片尺寸793x470
1小时内做一个otto机器人
图片尺寸813x817
码垛机器人抓手夹具丨安诺伊智能创新解决方案
图片尺寸644x588
从坐标机器人到龙门机器人两轴胜于一轴
图片尺寸721x567
消防机器人能有多硬核俄罗斯称会灭火能扫雷改改还能上战场
图片尺寸660x414
rv80e-121-a-b焊接变位机机器人关节减速机图纸
图片尺寸2303x1593
cad实例教程:快速设计呆萌的安卓机器人
图片尺寸530x415
知识点从随机碰撞到自主导航扫地机器人感知模块lds与vslam谁主沉浮
图片尺寸556x363
cad偏移命令怎么用?这三个方法掌握很简单!_绘图_对象_进行
图片尺寸1204x784
线闻界定未来建筑2020大界机器人产品发布会
图片尺寸1080x525
cad偏移命令怎么用?这三个方法掌握很简单!_绘图_对象_进行
图片尺寸1173x731
就是为全世界的工程师雕刻一尊"虚拟分身"|机器人|cad_网易订阅
图片尺寸660x407