机床导轨图纸

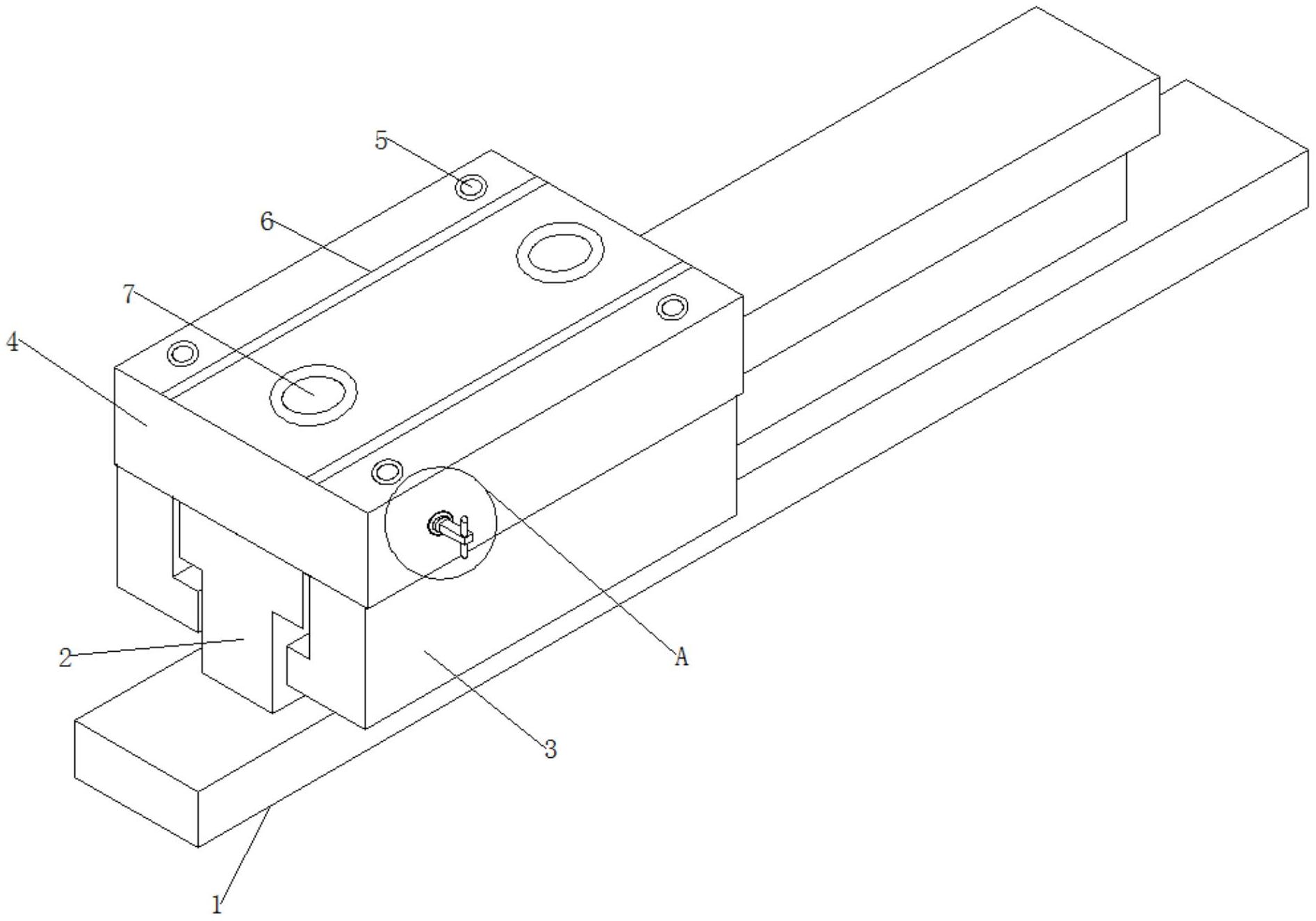
一种数控机床用导轨定位块
图片尺寸1894x1327
【经验分享】机械设计之导轨的结构布局及设计细节_长度_图纸_因为
图片尺寸640x743
a3-滚动直线导轨组图.dwg
图片尺寸1200x800
【经验分享】机械设计之导轨的结构布局及设计细节_长度_图纸_因为
图片尺寸640x751
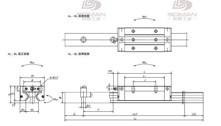
nsk nsk ra系列 ra-bl 直线导轨-ra350809blc2-k53-Ⅱ 江苏勃曼工业
图片尺寸714x406
nsk 直线导轨 nsk ns系列 ns-al-ns150280aln1pcz 江苏勃曼工业控制
图片尺寸739x388
cn212398812u_一种机床直线滚动导轨有效
图片尺寸1199x993
机床导轨cad图下载(157.10k,dwg格式) 机械cad图纸
图片尺寸717x397
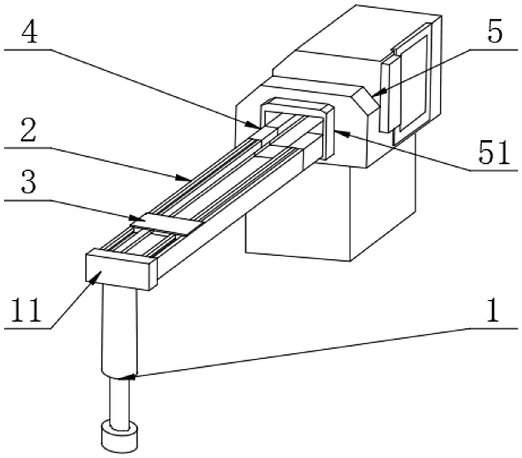
一种车铣加工机床导轨结构的制作方法
图片尺寸1000x732
机械加工机床金属加工设备的制造及其加工应用技术
图片尺寸444x303
数控铣床常用导轨
图片尺寸640x394
一种数控车床加工上料用限位导轨
图片尺寸1734x1520
为什么要出这个图纸呢?
图片尺寸1169x827
一种数控车床的导轨装置
图片尺寸1000x619
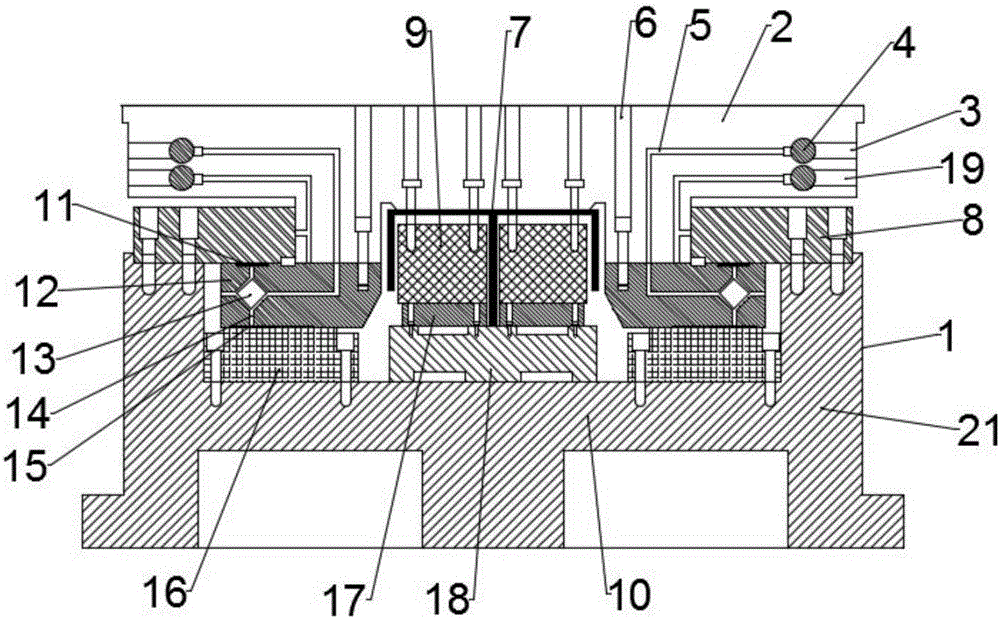
一种数控机床抗扭转液体静压导轨的制作方法
图片尺寸1000x642
哪里能查到机床导轨的技术标准?我想画立式机床的导轨,哪里能查.
图片尺寸1048x458
a1-x向导轨.dwg
图片尺寸1200x800
数控铣床常用导轨
图片尺寸1080x659
一种机床用导轨装置制造方法及图纸
图片尺寸1000x720
一种镶钢导轨整体平床身数控车床
图片尺寸1866x1059