机械减震座椅原理

电动座椅的构造和工作过程电动座椅的好处介绍
图片尺寸693x419
你知道是谁最早发明了飞机的弹射座椅
图片尺寸556x597
一种可根据体重调节的座椅减震系统
图片尺寸1733x884
电动座椅的组成 电动座椅的工作原理与控制 电动座椅机械部分的检修
图片尺寸1080x810
一种车辆减振座椅
图片尺寸860x1000
一种机械式可调节座椅悬浮系统的制作方法
图片尺寸1000x734
座椅减震机构及使用该减震机构的座椅
图片尺寸1000x744
一种自供能型车辆主动减振座椅制造技术
图片尺寸861x1000
图解汽车电动座椅的工作原理
图片尺寸640x379
新世代房车主副驾驶员机械减震座椅七豪华黑革扶手s2c01g2h21h14h48
图片尺寸1500x1920
小小减震器,结构不简单,你猜有多少零件?
图片尺寸640x670
挖掘机推土机钩机装载机铲车机械减震座椅a16一黑布双扶手高低前后
图片尺寸899x1499
汽车座椅升降机构的制作方法
图片尺寸1000x794
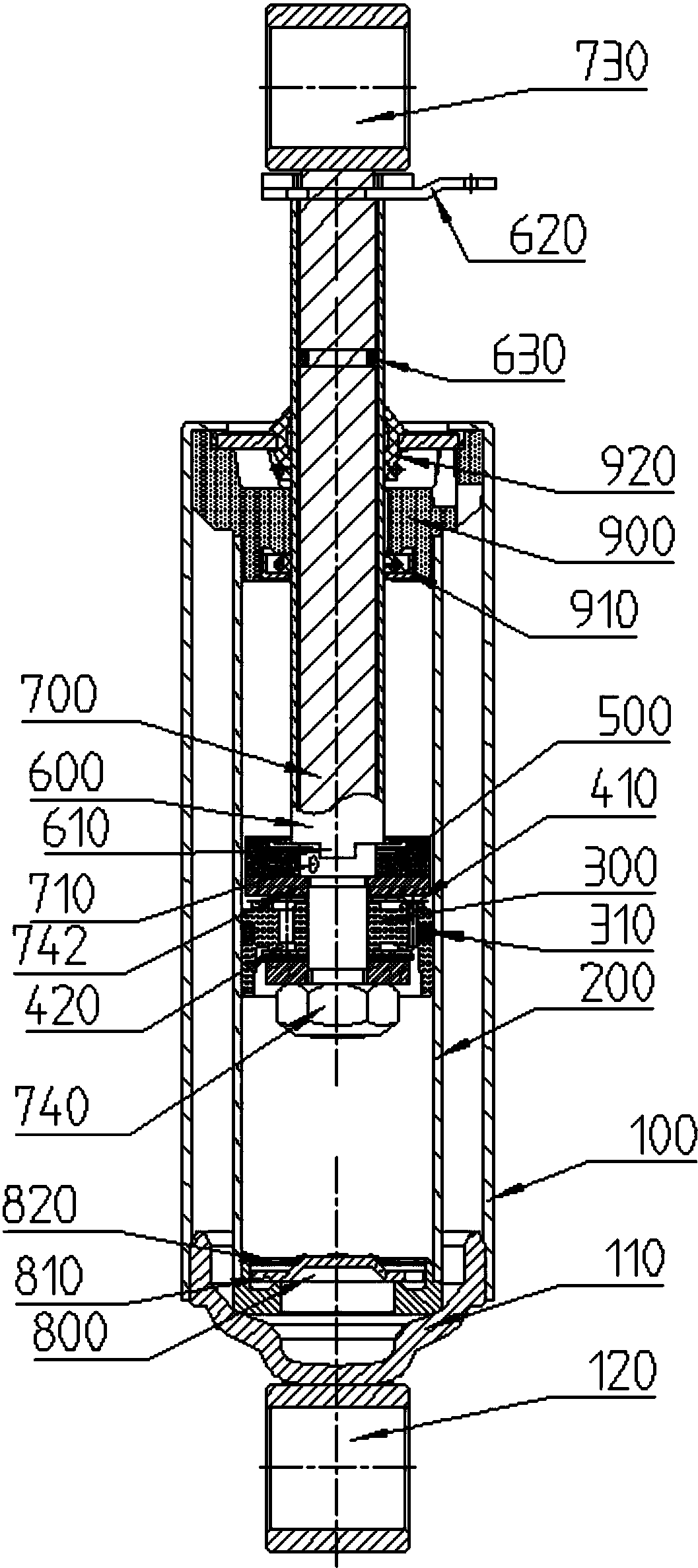
cn207609722u_一种阻尼可调座椅用减震器有效
图片尺寸1057x2374
b54汽车货车座椅改装解放j5奥威悍威骏威江淮格尔发气囊减震座椅 六
图片尺寸1500x1920
具有调节功能的机械减震座椅-爱企查
图片尺寸2199x1687
b54汽车货车座椅改装解放j5奥威悍威骏威江淮格尔发气囊减震座椅 六
图片尺寸3145x3039
设有调节装置的机械减震座椅-爱企查
图片尺寸1797x1686
首先我们一起来看看减震器的工作原理.
图片尺寸1334x1109
减震器原理是怎样的?
图片尺寸607x389