机械手手绘

工业设计产品手绘马克笔技法一机械手臂绘制 工业设计产品手绘马克笔
图片尺寸2202x1280
视觉传达考研手绘素材分享|机械手臂合集 素材分享系列持续更新
图片尺寸1294x1280
马克笔-机械手042
图片尺寸1080x1439
手绘机械臂
图片尺寸1080x1440
机械手臂
图片尺寸1080x1413
钢笔画机械手
图片尺寸1080x1439
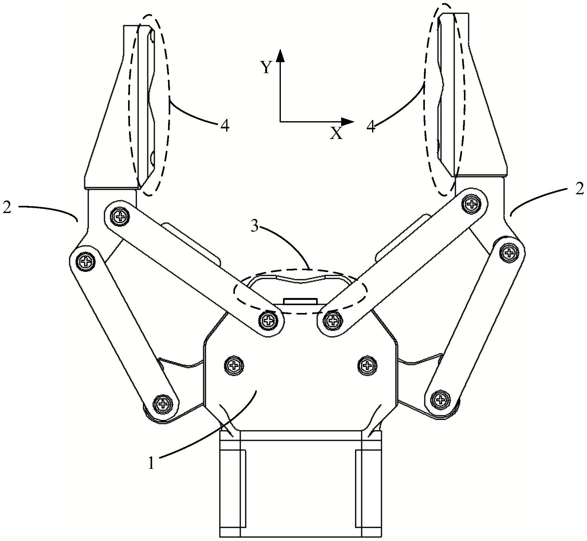
手爪及具有该手爪的机械手-爱企查
图片尺寸1614x1702
一种汽车车身焊接用可自动装卸的机械手
图片尺寸1653x1883
抽象的机械手
图片尺寸866x1200
黑白卡通机器人手
图片尺寸700x700
黑色素描风格机器手臂机器人免扣图片素材
图片尺寸720x480
一种用于自动炒菜的机械手-爱企查
图片尺寸497x800
手绘风机械臂绘画png素材透明免抠图片-卡通手绘
图片尺寸497x859
抽象的机械手
图片尺寸1100x1163
草图,绘画插图,分离着色,机械手,白色背景
图片尺寸1200x902
抽象的机械手
图片尺寸1200x1019
机械手,白色背景,分离着色,都市风景,自动的正版矢量图素材下载
图片尺寸612x612
一种用于装配的机械手
图片尺寸858x1051
机械手和机器人-爱企查
图片尺寸1879x1732
手臂. 手绘涂鸦,抽象图案在隔离背景上. 成人精神放松的设计.
图片尺寸300x300