机械手旋转底座

智能网联汽车周报(5月第五周) | 工信部规划1亿个
图片尺寸960x568
各种焊接工艺自动列和吊杆焊接机械手
图片尺寸750x500
工业机器人底座加工 机器人底座定制 安川机器人底座加工 机器人工作
图片尺寸600x600
武汉一高校毕业生自制机器人赠母校
图片尺寸800x600
本设备由四轴搬运机器人,海绵吸盘抓手治具,机器人底座构成,海绵吸盘
图片尺寸389x392
旋转底座
图片尺寸675x465
as6dof机械臂旋转底座机械手底盘支架arduino互动机器人配件
图片尺寸602x852
fanuc法兰克六轴数控机械手
图片尺寸820x663
旋转式机械手
图片尺寸1138x640
机器人底座
图片尺寸530x493
旋转底座
图片尺寸1200x1800
手柄i控制 开源创客7自由度机械臂机器人模型360度旋转底座机器人
图片尺寸800x800
搬运机械手样图设计
图片尺寸820x585
旋转底座
图片尺寸984x899
底座液压缸支架机械手建模装配(含有全套cad),主要是机械手的建模,是
图片尺寸758x760
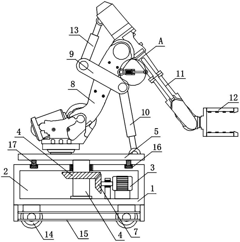
且公开了一种移动的棉纺织机械手,包括支撑底座,所述支撑底座的内部
图片尺寸793x800
码垛机械手的旋转与升降底座图纸合集的封面图
图片尺寸285x408
华中hsrbr606双旋机器人
图片尺寸750x750
机器人底座部件
图片尺寸530x400
湖南工业自动化机器人夹具上下料输送机器人视觉定位系统
图片尺寸750x750