机械手示意图

图6-11 机械手示意图机械手的操作面板如图6-12所示,机械手具有手动
图片尺寸725x512
一种方便检修的汽车焊接用点焊机械手
图片尺寸1531x1976
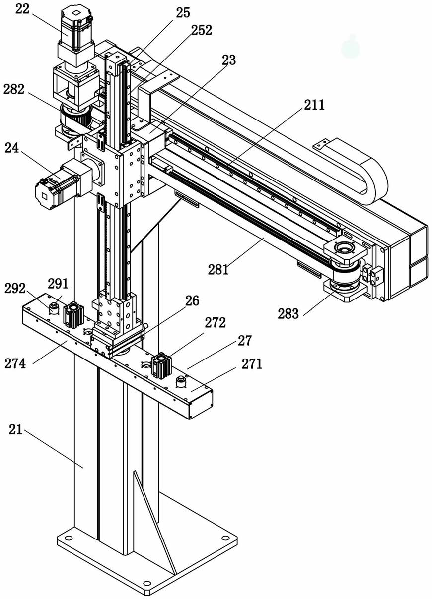
图1 机械手结构示意图
图片尺寸583x393
机械手结构示意图
图片尺寸1080x810
机械手的动作示意图
图片尺寸1080x810
新闻资讯
图片尺寸586x614
工业机械手教材ppt
图片尺寸1080x810
机械及行业设备 其他行业专用设备 工业机器人控制系统,自动化机器人
图片尺寸660x600
机械手搬运物品工作示意图如图7.19所示.
图片尺寸1052x676
气动机械手的结构示意图
图片尺寸471x390
求机械大神发给几个常用机械手手抓的示意图或者设计图给我,好人一生
图片尺寸561x308
移动机械手结构设计
图片尺寸451x302
上搬运机械手
图片尺寸820x558
上下料机械手示意图
图片尺寸511x898
机械手动作示意图
图片尺寸914x729![附图说明 [0014]图1是本发明整排吸料机械手的结构示意图.](https://i.ecywang.com/upload/1/img0.baidu.com/it/u=4227112948,2996836126&fm=253&fmt=auto&app=138&f=JPEG?w=500&h=694)
附图说明 [0014]图1是本发明整排吸料机械手的结构示意图.
图片尺寸870x1208
wharbo沃博pm助力机械手
图片尺寸643x513
多关节机械手
图片尺寸1173x582
一种应用于卧式注塑机的横走式双臂单截机械手研究
图片尺寸800x696
搬运机械手及其plc控制系统设计
图片尺寸663x470