机械手臂零件图

一种工业机器人轻量化机械臂
图片尺寸1754x1988
一种用于圆木旋切机的上料机械手臂
图片尺寸1668x1314
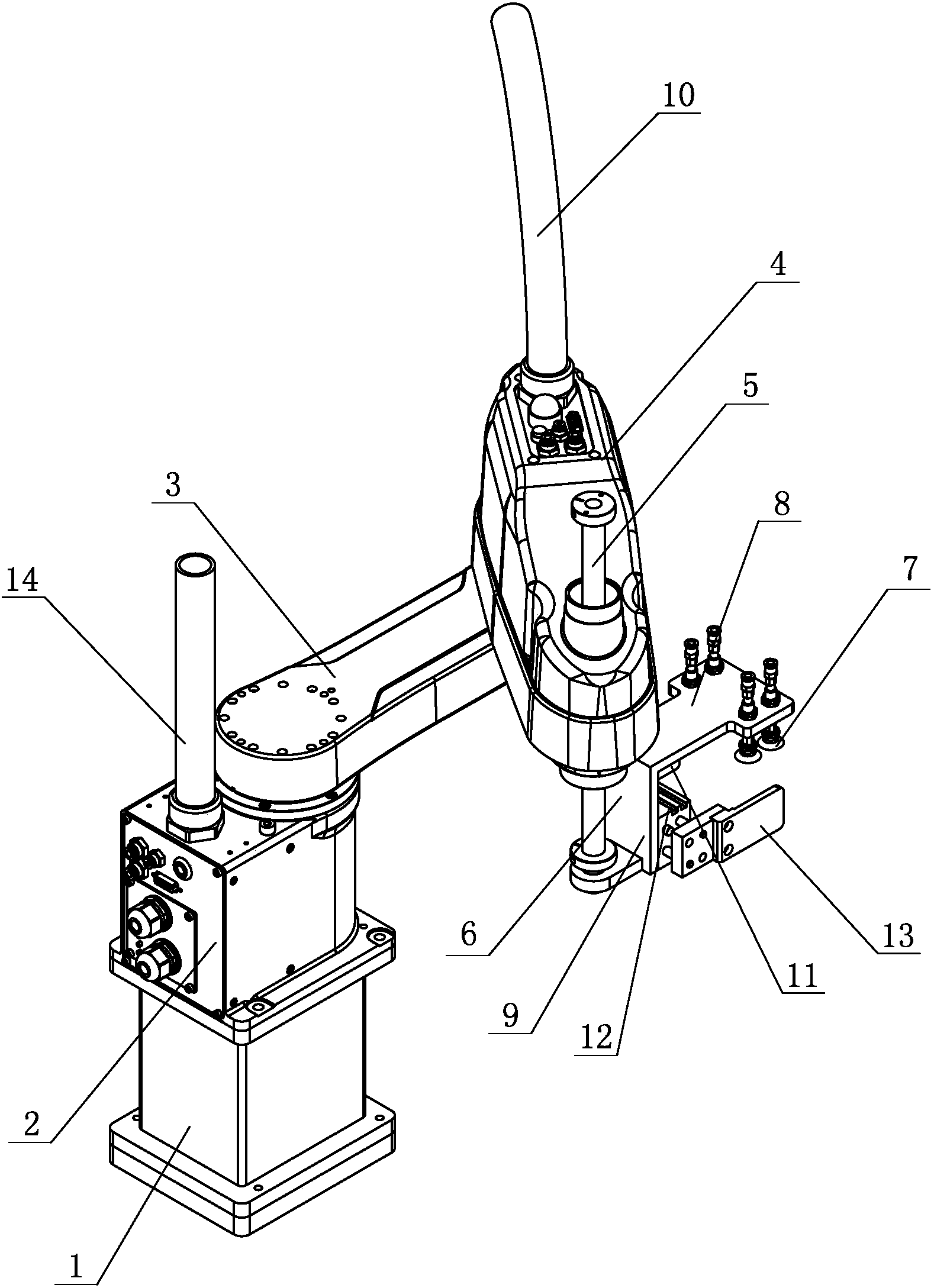
一种轻量型六自由度机械手臂
图片尺寸2040x2048
一种基于物联网的智能型机械臂
图片尺寸1642x1995
一种机械制造用机械臂
图片尺寸1668x1947
一种五轴数控机械手臂的制作方法
图片尺寸1000x930
一种自动化制造用机械手臂
图片尺寸1443x1684
一种用于交接架焊接的全自动化机械手臂
图片尺寸1654x1334
移动机械手的结构设计-履带式移动机器人【8张cad图纸】.zip
图片尺寸2338x1653
机械臂是具有模仿人类手臂功能并可完成各种作业的自动控制设备,这种
图片尺寸427x443
一种注塑机自动供料装置用机械臂
图片尺寸1557x2018
cn212497759u_一种无减速器四轴scara机械臂
图片尺寸1627x1176
一种气动机械手手臂-爱企查
图片尺寸1885x1029
机械臂,包括基座,抓取装置和控制装置,抓取装置包括连接架,手臂机构和
图片尺寸1543x1697
cn206170078u_一种工业机器人用机械手臂失效
图片尺寸1578x2177
一种用于管廊巡检的六自由度机械臂
图片尺寸1963x1886
一种结构稳定的机械臂
图片尺寸1342x1109
立式精锻机自动上料机械手手臂伸缩结构.dwg
图片尺寸1200x800
摘要附图摘要本发明涉及一种室内巡检机器人用于开关机柜门机械手臂的
图片尺寸2304x1551
一种机械臂关节及机械臂的制作方法
图片尺寸808x1000