机械联锁装置

安全联锁集成装置
图片尺寸777x1015
安全联锁装置安全门机械限位开关门磁开关电磁门锁急停开关
图片尺寸800x800
风门闭锁装置矿用风门联锁装置机械闭锁装置吊锤式闭锁器
图片尺寸750x750
压力容器安全联锁装置压力容器快开门联锁装置
图片尺寸360x360
济宁企业网 济宁机械设备 济宁矿业输送设备 无压闭锁式风门联锁装置
图片尺寸586x446
平衡式无压风门用机械联锁装置 机械闭锁
图片尺寸1440x1080
ykl-2型快开门安全联锁装置双开控进型
图片尺寸800x600
定制lc1d170交流接触器 可逆机械互锁la9d11502机械联锁连锁装置
图片尺寸800x800
矿用风门机械闭锁联锁装置型号|厂家
图片尺寸720x1280
阀门联锁装置
图片尺寸2904x2913
论坛 69 机械相关 69 机械机构 69 导轨联锁装置
图片尺寸1599x727
矿用风门机械联锁装置
图片尺寸750x563
阀锁阀门锁阀门联锁装置凯研机械提供安全联锁解决方案
图片尺寸354x360
联锁机构
图片尺寸704x704
jsl系列机械安全联锁装置
图片尺寸1080x1338
矿用风门机械联锁装置
图片尺寸1280x606
系统硬件主要组成部分:阀门联锁装置(由手轮/手柄部件,阀门联锁主体
图片尺寸588x306
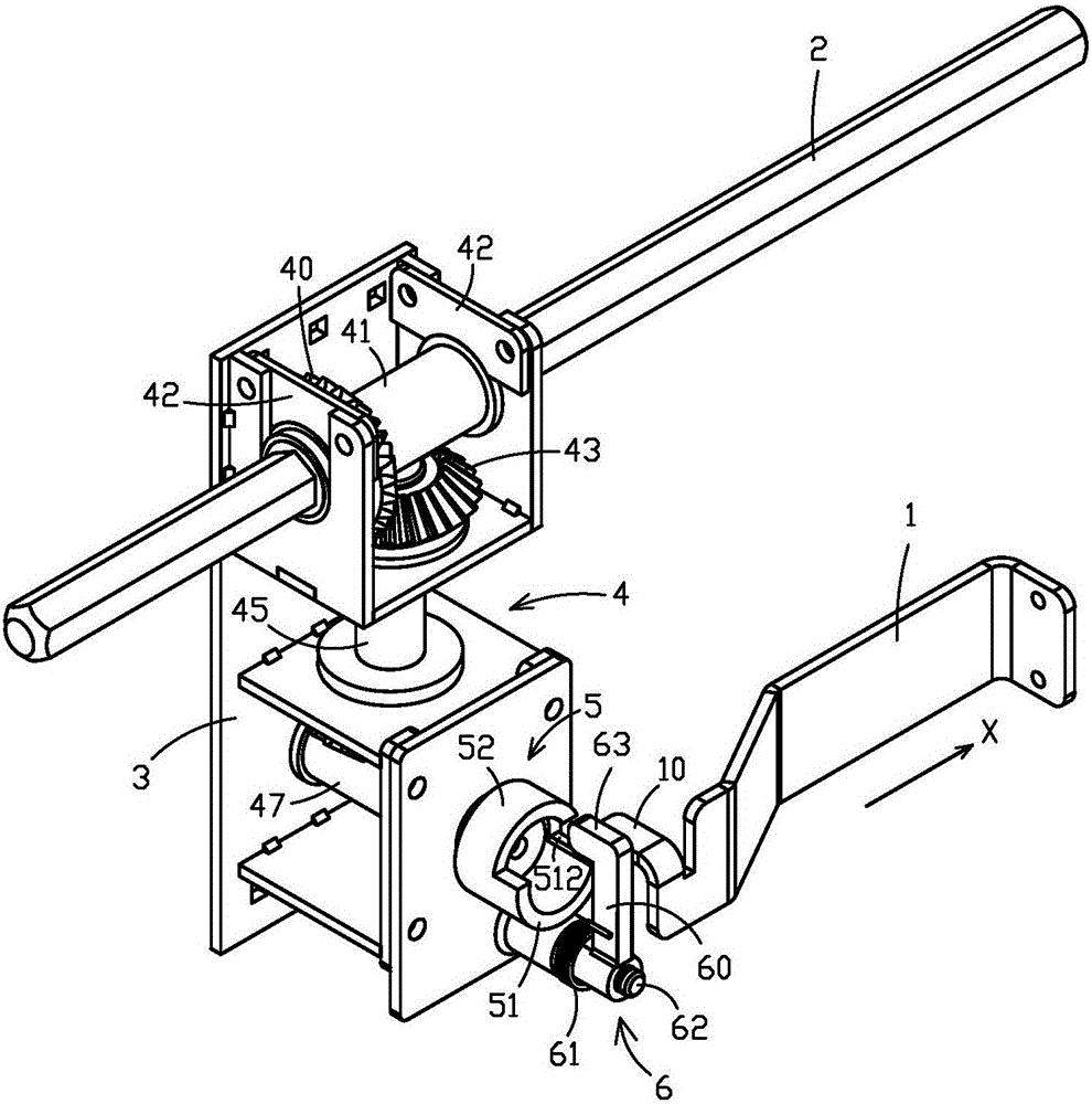
联锁装置和具有该联锁装置的开关柜
图片尺寸990x1000
阀门机械联锁装置能利用钥匙顺序交换实现控制阀门安全操作的全过程
图片尺寸446x426
自动化锁螺丝装置
图片尺寸1440x1299