机械臂工作原理

了解机械臂的机械系统和控制系统的组成,工作原理
图片尺寸573x424
【专利解密】康耐视发明用于机械臂视觉系统的自动"手眼标定"方案
图片尺寸464x586
机械臂的模型 机械臂的工作是由控制器指挥的,关节在每个位置的参数是
图片尺寸1080x810
多用途气动工业机械手设计下载2
图片尺寸576x437
典型机械臂结构-(图例详解)
图片尺寸884x558
一种智能精准定位机械臂的制作方法
图片尺寸1000x818
机械手臂详解,它是如何作业的?
图片尺寸500x461
74工作简图利用减速直流电机产生的转矩作为机器人的驱动力,巧妙
图片尺寸1080x448
工业机器人是如何工作的揭秘它的工作原理
图片尺寸513x324
机电一体化求高手帮忙做个设计(论文)机械手搬运系统设计
图片尺寸500x487
厂家批发河北武安6轴全自动焊接机械手 二保焊接机器人 机械臂_机器人
图片尺寸1000x1431
机械臂力反馈系统方法控制方法及控制终端
图片尺寸1505x829
一种三自由度搬运式机械手臂制造技术
图片尺寸550x398
液压式机械手臂及机床装卸件的制作方法
图片尺寸1000x752
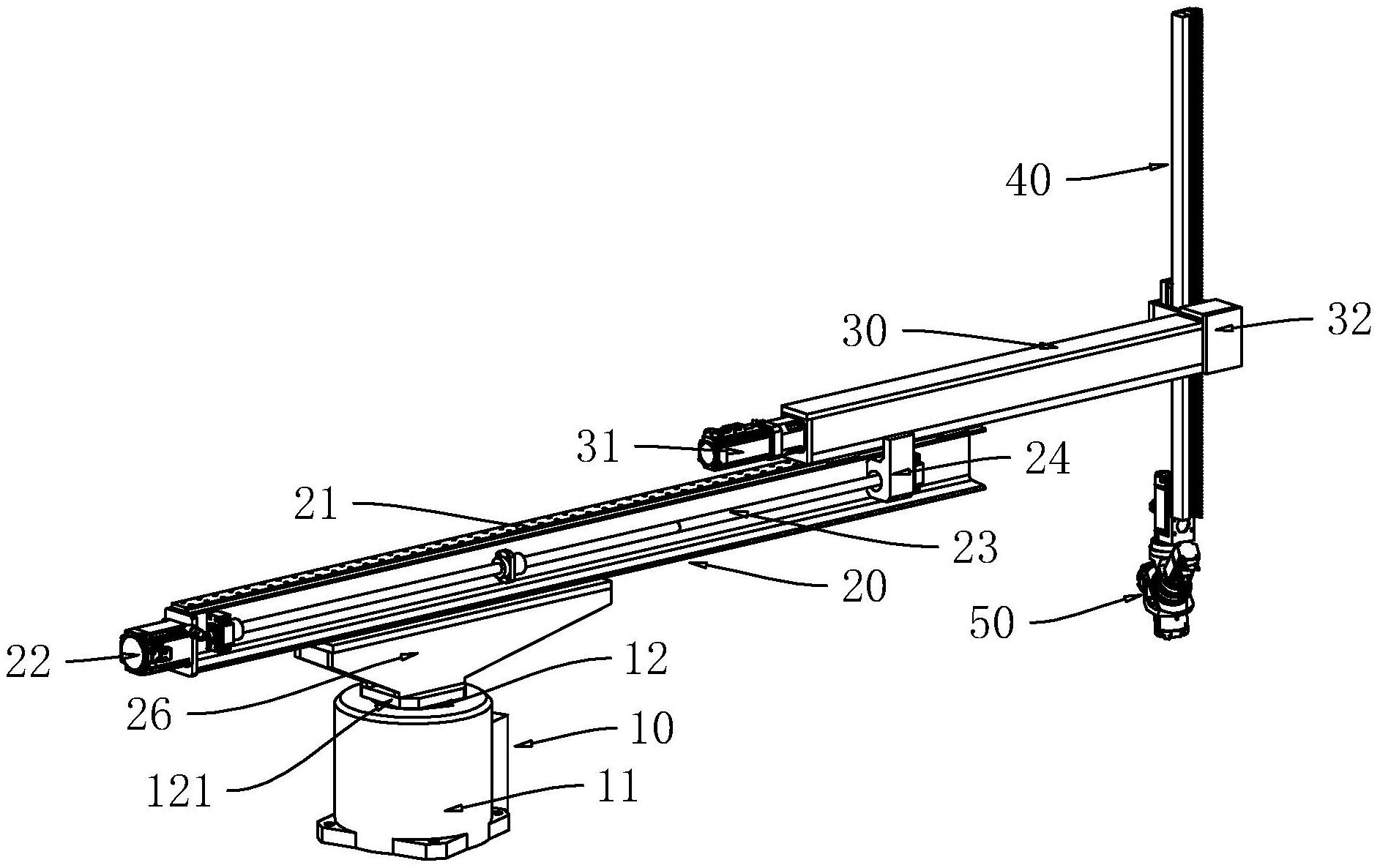
一种五轴运送物料机械臂
图片尺寸1885x1186
机械臂的机构与控制ppt
图片尺寸1080x810
一种硬臂式助力机械手的制作方法
图片尺寸1000x707
cn205950124u_一种六轴焊接机械手有效
图片尺寸832x1000
摘 要:为加强机械臂在工作空间上的整体可操作性,优化机械臂兼容目标
图片尺寸1016x921
一种智能助力机械手控制系统的制作方法
图片尺寸898x1000