机械运动简图绘制

3-8 试绘制图示冲床刀架机构的运动简图,并计算机构的自 由度.
图片尺寸487x767
帮我看看这题的运动简图怎么画?机械设计的,谢谢
图片尺寸295x362
工程科技 运动机构简图符号 第1页 下一页 你可能喜欢 机械运动简图
图片尺寸631x984
常用机械传动运动简图
图片尺寸800x566
11如图111所示为一简易冲床设计方案试绘制其运动简图分析其是否具有
图片尺寸920x1302
画出机械运动简图计算自由度
图片尺寸568x568
常用机械传动运动简图.doc
图片尺寸996x576
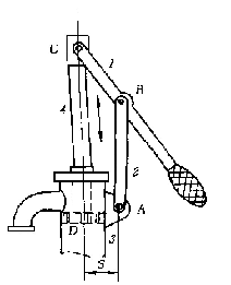
请绘制冲床的机构运动简图
图片尺寸500x451
机械设计基础练习题 求解答 绘出图所示机构的运动简图
图片尺寸768x1024
机械设计 运动简图,好评立刻
图片尺寸495x389
实训2 绘制鄂式破碎机机构运动简图 - 机械设计基础与实训 - 知乎书店
图片尺寸778x347
1,绘制机构运动简图实例1三,绘制机构运动简图实用技巧6,在原动件上标
图片尺寸212x261
机构运动图
图片尺寸618x699
机械原理平面机构的运动简图及自由度习题答案
图片尺寸396x205
2-1 如题图2-1所示为一小型冲床,试绘制其机构运动简图,并计算机构
图片尺寸625x502
根据图示机构,画出去掉了虚约束和局部自由度的等效机构运动简图,并
图片尺寸496x702
因此可通过运动学,动力学分析对机械臂建立预测模型
图片尺寸700x657
在下图所示铰链四杆机构中已知l
图片尺寸308x210
做机械课程设计时绘制机构简图,分析运动,模拟仿真分别用什么软件啊
图片尺寸674x338
求教:图示机构的运动简图是不是这样画?
图片尺寸621x446