机翼安装角

【航模关键词——机翼安装角】机翼弦线与机身水平线之间的夹角叫做
图片尺寸1728x1080
夹为正为上反,夹角为负为下反 后掠角——机翼前缘与垂直于机身度量用
图片尺寸1080x1093
一种快速确定飞机机翼安装角的方法与流程
图片尺寸1000x326
水平尾翼 正常布局的飞机的平尾的安装角通常要比机翼的 安装角更小
图片尺寸1080x810
什么是机翼安装角,航模
图片尺寸450x225
9)安装角 机翼安装在机身上时,翼根翼剖面弦线与机身轴线之间的
图片尺寸482x519
这些辅助机翼的安装位置也大有差异,有的装的比较高,比如说米-6直升机
图片尺寸550x261
机翼在机身上的安装位置,也会影响横向稳定性,上单翼比下单翼更稳定.
图片尺寸870x330
机翼安装形式
图片尺寸284x300
这个滑翔机有升降舵吗机翼的安装角是多少请指教谢谢
图片尺寸641x813
确定机翼安装角.
图片尺寸492x327
b737的襟翼机动速度和最小机动速度简介
图片尺寸540x414
襟翼和副翼下偏20°,机翼抬起,安装角变为7
图片尺寸4608x3456
ch 750飞机铝合金机翼制作安装,热爱自制飞机的朋友可以收藏了
图片尺寸864x486
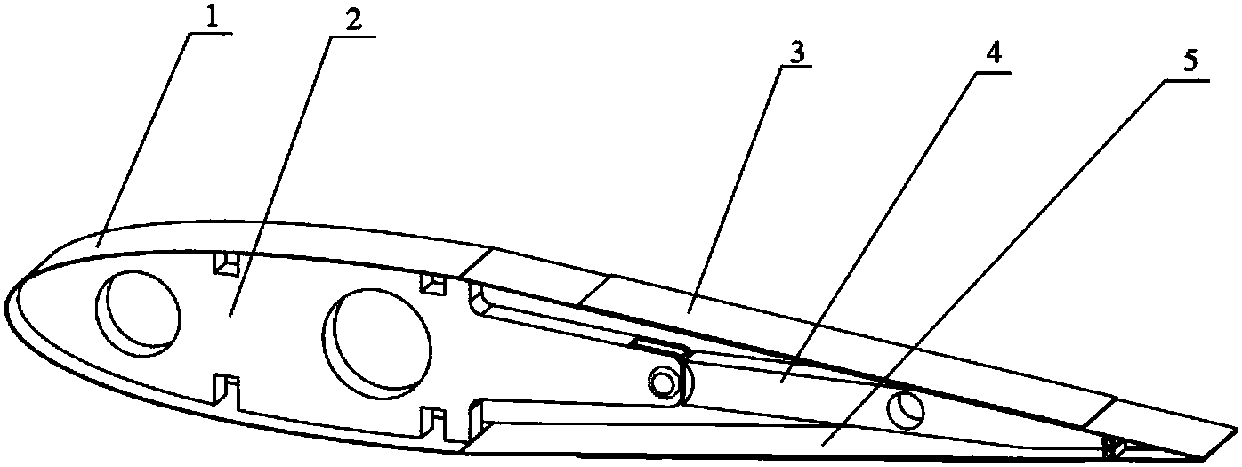
一种用压电纤维复合材料驱动的后缘变弯度机翼
图片尺寸1396x525
平均空气动力弦是假定机翼翼形和安装角不变,则空气动力和弦长
图片尺寸838x463
通常所指的后掠翼飞机,机翼后掠角(χ)多在25°以上,后掠角较小的机翼
图片尺寸500x511
来自飞机机翼的灵感能让自家屋顶变成风电场
图片尺寸1080x454
集结号联盟干货太实用了航模飞机跑偏的问题终于得到解决
图片尺寸532x264
飞机发动机安装在机翼上噪音很大为啥不换地方
图片尺寸640x426