杆塔结构图

一种抗强风复合材料电力杆塔结构
图片尺寸1019x2069
避雷线和其他附件的塔架结构,使得导线与导线,导线与杆塔,导线与避雷
图片尺寸779x1000
一种输电线路用两用杆塔
图片尺寸1534x2766
分享输电铁塔结构资料下载
图片尺寸760x401
7736输电塔结构图
图片尺寸753x599
一种输电线路台风灾害观测塔制造技术
图片尺寸651x1000
二 稳定结构的探析
图片尺寸400x700
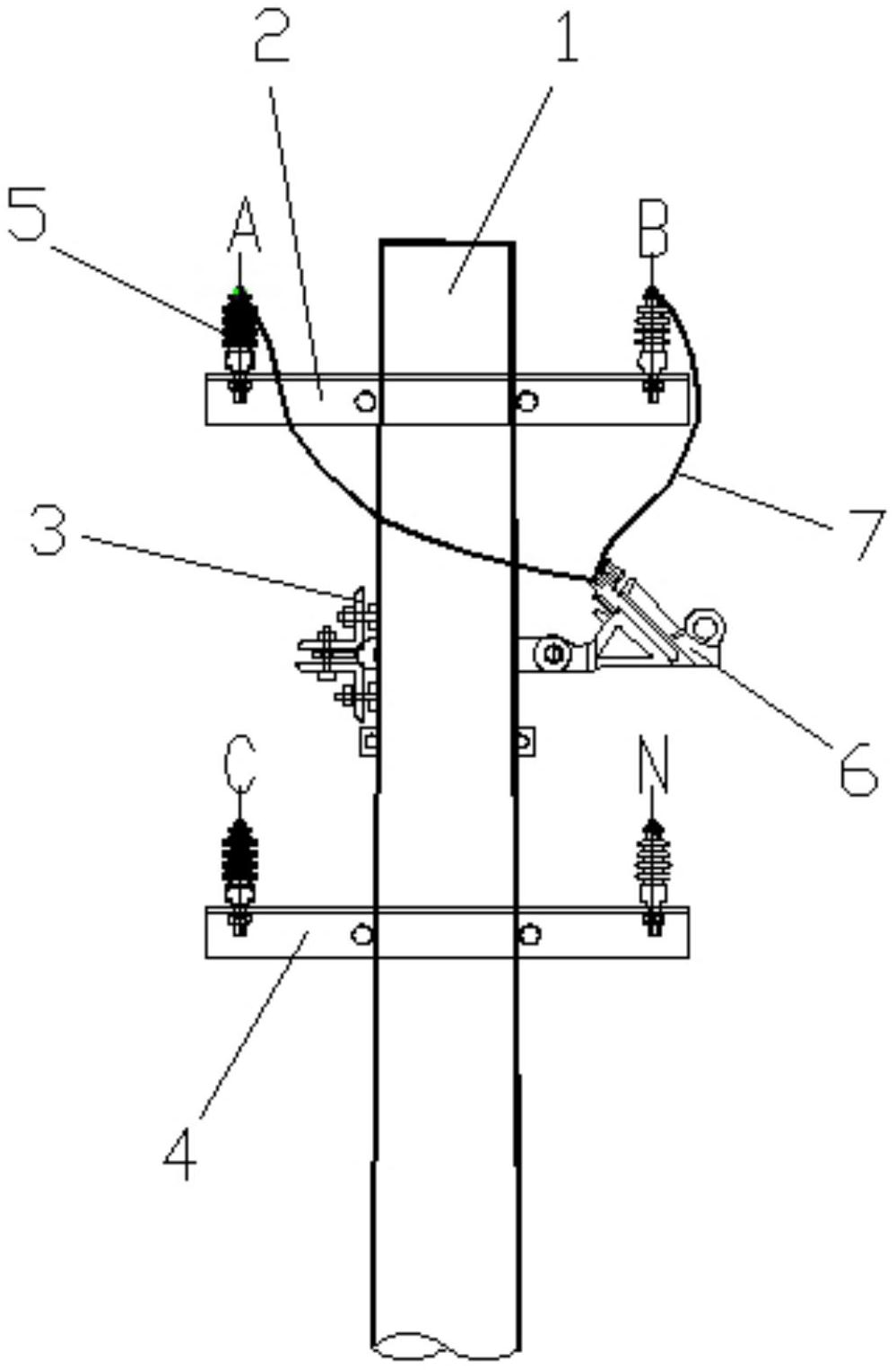
本发明公开了一种耐张型输电杆塔,其结构包括塔体,固定架,定线板,所述
图片尺寸1204x1894
内悬浮内拉线抱杆组塔技术,其抱杆具有轻便,紧凑,利于组装,结构简单
图片尺寸1000x988
一种用于采空区的输电线路杆塔结构
图片尺寸1609x1497
一种输电铁塔力学特性与安全性能分析监测系统技术方案
图片尺寸737x1000
一种单回路错层输电线路杆塔的制作方法
图片尺寸510x727
110 kv输电线路直线杆塔结构设计
图片尺寸402x254
一种中心悬浮组合拉线抱杆分解组塔
图片尺寸1750x1306
图a1 线路杆塔示意图 fig.
图片尺寸642x877
7729输电塔结构图
图片尺寸840x636
一种新型农村电网架空线路杆塔安装结构-爱企查
图片尺寸999x1527
cn205400221u_一种输电杆塔失效
图片尺寸868x1000
板式塔
图片尺寸682x688
一种风电集电线路安装用电力杆塔的制作方法
图片尺寸917x1000