条形基础三维图

谁会识条形基础图啊?
图片尺寸721x444
条形基础基础梁土方开挖用大开挖土方还是基槽土方开挖底标高两米要
图片尺寸998x755
条形基础标高问题
图片尺寸1160x604
基础梁与条形基础与柱三者之间的扣减关系
图片尺寸876x463
谁会识条形基础图啊?
图片尺寸410x380
画条形基础标高一样的三维视图断开的
图片尺寸1039x502
tjbj阶形条形基础底板绘制
图片尺寸752x605
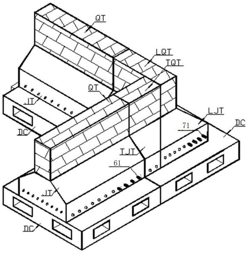
可拆装式钢筋混凝土条形基础组合体系及拼装方法
图片尺寸981x1000
条形基础与基础梁 条形基础基础梁
图片尺寸795x524
条形基础计算公式
图片尺寸584x293
条形基础砖胎膜的问题
图片尺寸1088x550![[分享]条形偏心基础资料下载](https://i.ecywang.com/upload/1/img2.baidu.com/it/u=117056854,987902729&fm=253&fmt=auto&app=138&f=JPG?w=369&h=441)
[分享]条形偏心基础资料下载
图片尺寸369x441
斜面条形基础cad三维实体建模过程及工程量计算
图片尺寸1728x1080
关于条形基础绘制
图片尺寸775x627
条形基础绘制
图片尺寸557x409
初学者提问:如图,广联达钢筋算量中混凝土和砖砌条形基础三维时大角处
图片尺寸920x556
条形基础板
图片尺寸796x467
条形基础
图片尺寸922x691
7米,高1.3米,条形基础宽0.68米.高1.3米,-答疑解惑-广联达服务新干线
图片尺寸691x673
条形基础建筑木工三维建模
图片尺寸720x952