板式热交换器简图

一种带接管的板式热交换器
图片尺寸965x1350
热交换器总装图cad图纸
图片尺寸583x414
一种板式热交换器的制作方法
图片尺寸920x1000
惠州板式换热器厂家雅仕达直销可拆式板式换热器ysd20s板式热交换器
图片尺寸900x730
cn109029028a_一种吸附垫片板式热交换器在审
图片尺寸715x1000
板式热交换器是液—液,汽—液进行热交换的理想设备
图片尺寸646x400
cn101245947a_一种板式燃气热水器的热交换器失效
图片尺寸1600x1349
板式换热器培训(技术部)ppt
图片尺寸1080x810
板式热交换器
图片尺寸1681x2495
熬制锅用板式热交换器的制作方法
图片尺寸603x627
干货分享,图说板式换热器_手机搜狐网
图片尺寸600x370
板式热交换器冷热侧方向相反
图片尺寸600x316
板式热交换器机组的制作方法
图片尺寸1000x868
背景技术:换热器,又称热交换器,将热量从一种载热介质传递至另一种载
图片尺寸1000x869
本实用新型涉及一种板式热交换器,尤其涉及一种电加热钎焊型板式
图片尺寸642x1000
各种板片之间形成薄矩形通道,通过板片进行热量交换;板式换热器
图片尺寸398x443
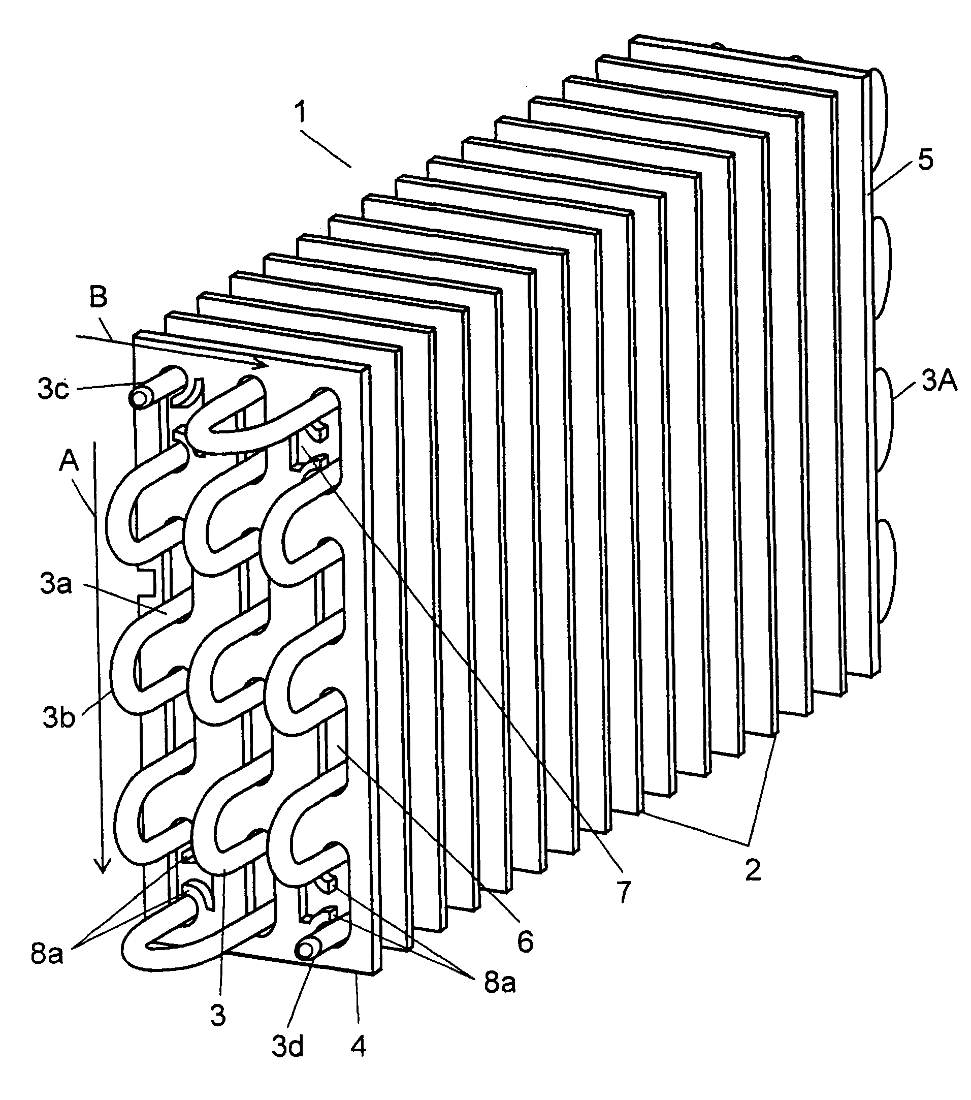
热交换器及其制造方法
图片尺寸1912x2165
01)i;f28f11/02(2006.01)i 分类 一般热交换 公开(公告)号 cn
图片尺寸991x1000
供应钎焊式热交换器,板式交换器,12hp板式换热器(图)
图片尺寸549x306
一种双落地式简易板式热交换器的制造方法
图片尺寸475x711