板翅式换热器 原理

板式换热器原理
图片尺寸1920x1533
板式换热器培训(技术部)ppt
图片尺寸1080x810
一文详解板翅式换热器
图片尺寸640x480
板翅式换热器内部构造
图片尺寸500x593
换热器工作原理
图片尺寸920x1302![[分享]最全面的板式换热器知识](https://i.ecywang.com/upload/1/img1.baidu.com/it/u=3135126114,3013947310&fm=253&fmt=auto&app=138&f=PNG?w=607&h=366)
[分享]最全面的板式换热器知识
图片尺寸640x386
冷却冷凝板式换热器的应用原理
图片尺寸664x445
系统原理:hxbz-qsw系列机组:hxbz系列板式换热器机组实现无人值守
图片尺寸650x310
板翅式换热器工作示意图
图片尺寸443x729
板式换热器循环原理图
图片尺寸500x259
板式换热器应用
图片尺寸945x454
干货分享,图说板式换热器
图片尺寸640x407
板式换热器影响传热系数的因素
图片尺寸700x405
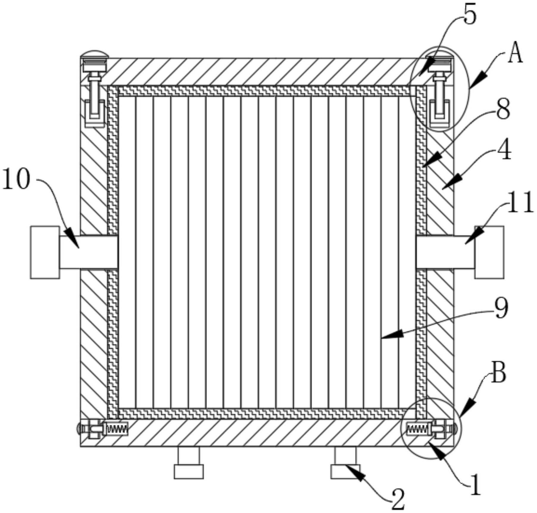
一种可拆卸式铝制板翅式换热器
图片尺寸1804x1725
板式换热器的应用
图片尺寸1060x452
板式换热器结构及工作原理
图片尺寸800x1132
高效换热器及强化传热板翅式热交换器副本资料培训讲学
图片尺寸920x690
翅片式换热器的制作方法
图片尺寸1000x494
板式换热器简单的工作原理, 结构组成, 请参考下图(图 1.
图片尺寸769x618
板翅式换热器
图片尺寸560x303